西安科技大学

采矿学


金洪伟
安全科学与工程学院

返回目录⇡

如何浏览?

  1. 从浏览器地址栏打开 https://zimo.net/ck/
  2. 点击章节列表中的任一链接,打开相应的演示文稿;
  3. 点击链接打开演示文稿,使用空格键或方向键导航;
  4. f键进入全屏播放,再按Esc键退出全屏;
  5. Alt键同时点击鼠标左键进行局部缩放;
  6. Esco键进入幻灯片浏览视图。

请使用最新版本浏览器访问此演示文稿以获得更好体验。

第9章 立井开凿

目 录

  1. 立井断面形状与尺寸
  2. 立井普通开凿法
  3. 特殊凿井方法
  4. 立井井筒延深

立井又称为竖井,是矿井井下通往地面的主要出口,是用来提升有用矿物、上下人员、下放材料设备和通风排水的垂直巷道。由于井筒的用途及井筒内布置的提升容器不同,立井可分为罐笼井箕斗井风井

目前,全国大中型煤矿平均开采深度超过500m,且以年均近20m的速度向深部延深;采深大于600m的已占30%,超过千米的深井达39处。

立井井筒的组成

1-翻笼硐室;2-装载硐室

井筒最上段直接通达地表,井壁需要加厚的部分称为井颈。一般情况下,井颈部分深度为15~20m,井颈壁厚为1.0~1.5m。

从井颈以下到井底车场水平以上这段井筒称为井身。它是井筒的主干部分,多位于基岩中,若表土层厚度较大,有一部分井身也可在表土层中。

井底车场水平以下的井筒部分叫做井底。井底的深度是由提升过卷高度、井底装备以及井底水窝要求确定的。罐笼井井底深度一般为10m左右,箕斗井井底深度一般为35~75m。

第1节 立井断面形状与尺寸

一、立井断面形状

横断面形状:

第1节 立井断面形状与尺寸

二、立井断面尺寸

为了便于采用标准设计,我国煤矿立井净直径按0.5m晋级,净直径6.5m以上特殊布置的井筒或小煤窑井筒不在此限。

井筒断面布置方式

1-箕斗;2-罐笼;3-梯子间;4-管路电缆间;
5-罐道梁;6-罐道;7-钢丝绳罐道;8-防坠钢绳

第2节 立井普通开凿法

特点:

  • 以凿岩爆破为主;
  • 先掘进后支护。

施工过程:

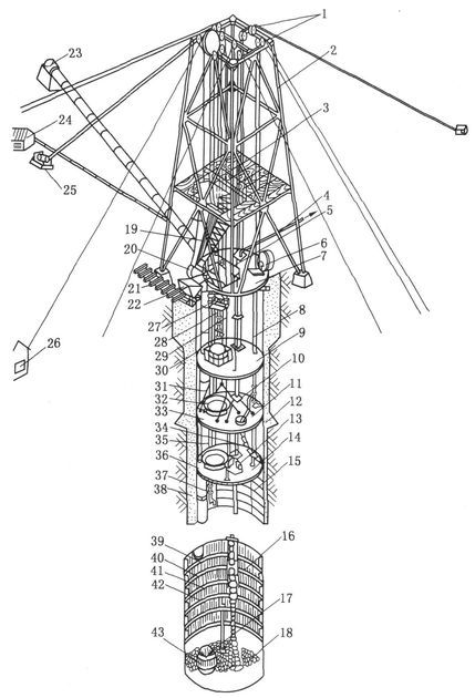
立井井筒施工示意图

1-天轮;2-凿井井架;3-卸矸台;4-排水管;5-井盖门;6-混凝土搅拌机;7-封口盘; 8-混凝土输送管;9-固定盘;10-吊泵通过口;11-吊盘上层盘;12-壁座;13-气动绞车;14-吊盘下层盘;15-金属模板;16-吊泵;17-抓岩机;18-吸水龙头;19-卸矸溜槽;20-溜槽闸门21-临时轨道;22-矿车;23-扇风机;24-压风机房;25-稳车;26-提升机房;27-风筒;28-滑架与保护伞;29-稳绳;30-提升钩头;31-吊盘裤叉绳;32-喇叭口;33-吊盘定位丝杠;34-输送混凝立的活节管;35-压风管;36-吊盘折页;37-分风器;38-风筒卡子;39-挂钩;40-井圈;41-背板;42-撑柱;43-吊桶

第2节 立井普通开凿法

一、准备工作

  • 工程地质、水文地质勘探资料作为设计依据,编制施工组织设计和施工预算,按设计要求进行施工准备。
  • 抓好风、水、电、路这些关键环节。

第2节 立井普通开凿法

二、表土施工

覆盖在基岩上部直至地表的第四纪、第三纪风化沉积的土、砂、砾石层,统称为表土层

普通凿井法的表土施工,和基岩施工类似。不同点如下:

  • 通过钻孔取芯验证地质资料的准确性。
  • 测量定出井筒十字中心线,按照井口布置图放好线。
  • 安设锁口圈。
  • 表土挖掘工作应尽量实现机械化,以提高表土段井筒的施工速度和减轻工人的劳动强度。当机械化条件不具备时,亦可用铁锹、风镐或打眼放炮等简单工具和方法。
  • 表土施工中应特别注意对水的处理。
  • 表土部分的支护(一般为井颈)应比立井其他部分的支护更为坚固。

第2节 立井普通开凿法

三、立井基岩施工

立井基岩施工工作循环

三、立井基岩施工

1. 钻眼

与岩巷掘进钻眼类似。由上向下钻进,可以使用吊架(钻架)实现机械化凿岩,吊架悬吊在井架或吊盘上,架上安装有4~12台凿岩机同时作业。

2. 爆破

常使用抗水炸药,并采取防潮措施;最好采用毫秒延期电雷管,炮眼直径多为38~42mm,药包直径为32~35mm;炮眼深度一般为1.2~2.0m;多采用串装药。

3. 通风

和平巷掘进通风方式一样,采用风筒通风,有压入式、抽出式和混合式3种,多采用压入式。

三、立井基岩施工

抓岩机

4. 装岩

最繁重和费时的工作,约占循环时间的60%。用各种抓岩机装岩。

5. 提升

在井筒掘进中,一切材料和工具的运入、岩石的提出以及人员的上下,均靠提升工作完成。一般使用的提升容器是吊桶。矸石吊桶容积一般为0.5~3m3

三、立井基岩施工

6. 排水

  • 若涌水量小于8m3/h,可用压气泵将水排入吊桶带走;
  • 若涌水量在8~50m3/h时,可用吊泵排水;
  • 涌水量再大时,应设中间泵房,中间截水,进行多段排水。

第3节 特殊凿井方法

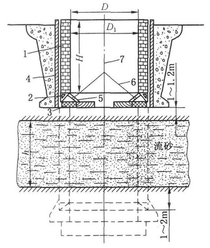
在立井表土施工中,当遇到流砂、淤泥等不稳定土层时,为实现打干井,并能顺利凿井,就要利用特殊凿井方法

第3节 特殊凿井方法

一、冻结法

冻结法凿井示意图

1-冰冻沟槽;2-配液管;3-冻结管;
4-供液管;5-回液管;6-冻土柱

在井筒掘进之前,在井筒周围钻冰结孔,用人工制冷的方法将井筒周围的不稳定表土层和风化岩层冻结成一个封闭的冻结圈,以防止水或流砂涌入井筒并抵抗地压,然后在冻结圈的保护下掘砌井筒。待掘砌到设计深度后,停止掘进进行套内壁。套内壁到一定高度或结束后,停止冻结,进行拔管和充填工作(因管子对围岩有加固作用,目前大都仅充填而不拔管)。

第3节 特殊凿井方法

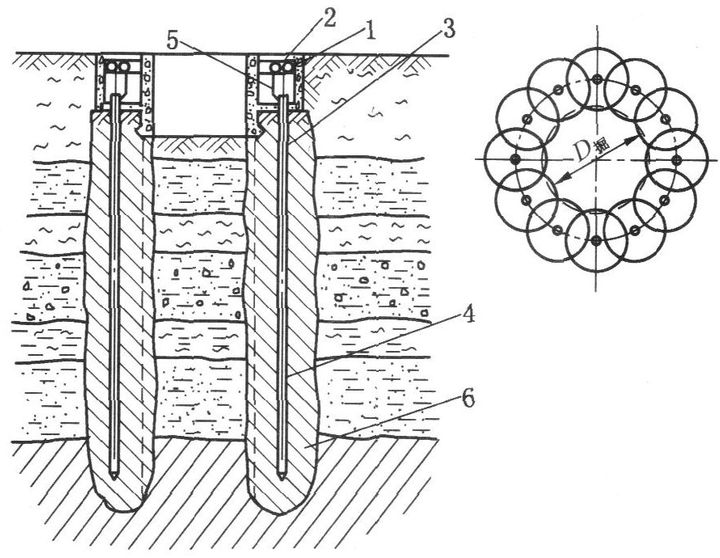
二、钻井法

利用钻井机将井筒断面一次钻成,或将井筒分次扩孔钻成。主要工艺包括:

  • 井筒钻进:钻杆驱动钻头在井底旋转破岩;
  • 泥浆洗井护壁:钻进同时用泥浆冲洗液洗井,常使用气举反循环洗井法;
  • 井壁下沉和壁后充填:将预制好的带有封底底座的永久井壁放入井内,在泥浆中悬浮下沉;随后进行壁后充填,以及壁后和封底注浆。
钻进过程示意图



1-井架;2-天车;3-游车;4-大钩;5-水龙头;6-三通;7-排浆管;8-拉压力传感器;9-溜槽;10-沉淀池;11-六方钻杆;12-转盘;13-钻台;14-封口平车;15-钢丝绳;16-绞车;17-进浆液地槽;18;泥浆池;19-接头;20-钻杆;21-钻头;22-刀具;23-压风管

反循环洗井示意图

1-水龙头;2-三通;3-排浆管;4-压风管;5-混合器;6-吸收口;7-沉淀池;8-回浆槽

永久井壁悬浮下沉工艺示意图

1-钢筋混凝土管柱;2-底座;3-泥浆;4-水;5-压气排浆器;6-水管;7-钻台;8-龙门吊车;9-临时封口

第3节 特殊凿井方法

三、沉井法

在土层开挖前,把预制好的永久井壁按井筒位置沉入土中,然后在它的保护下进行掘进。


1-井壁;2-刃脚;3-垫木;4-导向木;5-撑木;6、7-钢丝绳

沉井法掘进立井

第3节 特殊凿井方法

四、注浆法

将胶结材料配制成浆液注入地层的裂隙或空洞中去,浆液凝结硬化后堵塞孔隙、裂隙或溶洞,从而达到封闭水源或加固底层的目的。根据注浆地点不同分为地面预注浆工作面预注浆

地面预注浆钻孔布置

1-钻孔;2-含水岩层;3-隔水层
d-井筒掘进直径;D-注浆孔布置直径

1. 地面预注浆

在地面进行钻注浆孔和注浆工作。含水层距地表较浅时,采用地面预注浆较为合适。钻孔布置在大于井筒掘进直径1~3m的圆周上,有时也可以布置在井筒掘进直径范围内。

工作面预注浆示意图

1-止水垫;2-含水岩层;3-注浆钻孔;d1-掘进直径;d2-注浆孔布置直径;d3-孔底直径;d4-螺旋角(120°~180°)

2. 工作面预注浆

当含水岩层埋藏较深时,采用井筒工作面预注浆比较合适。井筒掘进到距含水岩层一定的距离时停止掘进,一般可取距含水岩层10m间距,构筑混凝土止水垫,随后钻孔注浆。

第4节 立井井筒延深

井筒延深就是将原井筒加深的工作。根据井筒延深工作面的推进方向,立井井筒延深施工方案可分为自上而下、自下而上或自上、下同时进行延深等方案。

第4节 立井井筒延深

一、辅助水平延深井筒

利用辅助水平延深井筒




1-生产水平;2-辅助暗斜井;3-延深辅助水平;4-卸矸台;5-凿井绞车硐室;6-提升机硐室;7-绳道;8-保护岩柱;9-护顶盘

第4节 立井井筒延深

二、延深间延深井筒

利用永久井架延深




1-生产永久井架;2-延深凿井提升绞车;3-卸矸溜槽;4-矿车;5-延深间;6-保护设施;7-延深吊桶;8-延深工作面

第4节 立井井筒延深

三、反井延深井筒

利用反井延深示意图

1-已掘井筒;2-车场巷道;3-反井;4-刷大井筒工作面;5-通往新水平下山

  谢谢!

返回目录
返回首页