西安科技大学

采矿学


金洪伟
安全科学与工程学院

返回目录⇡

如何浏览?

  1. 从浏览器地址栏打开 https://zimo.net/ck/
  2. 点击章节列表中的任一链接,打开相应的演示文稿;
  3. 点击链接打开演示文稿,使用空格键或方向键导航;
  4. f键进入全屏播放,再按Esc键退出全屏;
  5. Alt键同时点击鼠标左键进行局部缩放;
  6. Esco键进入幻灯片浏览视图。

请使用最新版本浏览器访问此演示文稿以获得更好体验。

第10章 准备方式

目 录

  1. 上(下)山采区式准备方式
  2. 盘区式与条带式准备方式
  3. 准备方式中的几个主要问题

基本概念

第1节 上(下)山采区式准备方式

准备方式分类

第1节 上(下)山采区式准备方式

采区的分类

第1节 上(下)山采区式准备方式

采区的分类

第1节 上(下)山采区式准备方式

采区的分类

第1节 上(下)山采区式准备方式

一、单层布置上山的采区准备方式

见以下两页图的示例。

单层布置上山采区准备方式


1-运输大巷;
2-轨道大巷;
3-回风大巷;
4-运输上山;
5-回风上山;
6-轨道上山;
7-上部车场;
8-区段回风巷;
9-区段运输巷;
10-中部车场;
11-溜煤眼;
12-采区绞车房;
13-采区煤仓

单层布置上山采区准备方式

1-采区运输石门
2-采区回风石门
3-采区下部车场
4-轨道上山
5-运输上山
6-上部车场
7, 7’-中部车场
8, 8’, 10-区段回风巷
9, 9’-区段运输巷
11-联络巷
12-采区煤仓
13-采区变电所
14-绞车房

第1节 上(下)山采区式准备方式

二、联合布置上山采区准备方式

1. 煤层群集中布置采区准备方式

内容见以下几页图。

2. 煤层群分组集中准备方式

内容见以下几页图。

共用采区上山的采区巷道集中布置

1-运输大巷;
2-轨道大巷;
3-回风大巷;
4-运输上山;
5-回风上山;
6-轨道上山;
7-上部车场;
8-m1煤层区段回风巷;
9-m2煤层区段运输巷;
10-中部车场;
11-溜煤眼;
12-m1煤层区段进风石门;
13-m1煤层区段运输石门;
14-m1煤层区段回风斜巷;
15-采区煤仓;
16-采区绞车房

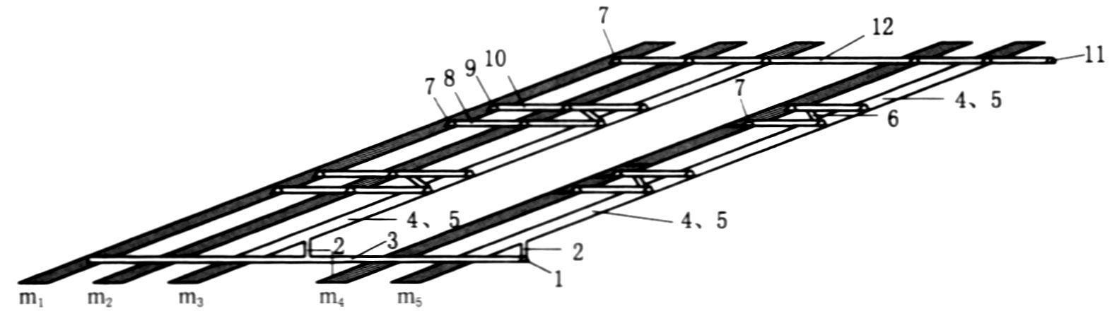
二、联合布置上山采区准备方式

2. 煤层群分组集中准备方式

煤层群分组集中巷道布置

1-运输大巷;2-采区煤仓;3-采区运输石门;4-轨道上山;5-回风上山;
6-溜煤眼;7-区段轨道平巷;8-区段轨道石门;9-区段进风巷;
10-区段进风石门;11-回风大巷;12-区段回风石门

第2节 盘区式与条带式准备方式

盘区的分类

第2节 盘区式与条带式准备方式

盘区的分类

第2节 盘区式与条带式准备方式

一、上(下)山盘区准备方式

上山盘区单层布置方式,由于盘区的储量较小,产量不大,服务年限短,一般设运输和轨道两条上山就能满足需要,盘区上山一般布置在煤层内。

生产实践中盘区式准备被广泛应用。通常近水平煤层,埋藏稳定,地质构造简单,煤层储量丰富,技术装备水平较高,盘区生产能力较大的大中型矿井,适宜采用盘区式准备方式。

上山盘区布置准备方式

1-岩石运输大巷;2-总回风巷;3-盘区材料上山;4-盘区轨道上山;5-盘区运煤上山;6-下部车场;7-进风斜巷;8-回风斜巷;9-煤仓;10-m1层区段进风平巷层;11-区段运输平巷;12-m2层区段进风平巷层;13-m2层区段运输平巷;14-区段材料斜巷;15-区段溜煤眼;16-甩车场;17-无极绳绞车房;18-无极绳尾轮;19-盘区材料斜巷绞车房;20-绞车房回风巷;21-下层煤回风眼

第2节 盘区式与条带式准备方式

二、条带式准备

条带的分类

二、条带式准备

条带式准备方式

1-运输大巷;2-回风大巷;3-轨道大巷;4-进风行人斜巷;
5-分带运输斜巷;6-分带回风斜巷;7-煤仓

二、条带式准备

条带式准备方式有以下优点:

  • 巷道布置简单,巷道掘进和维护费用低、投产快。
  • 运输系统简单,占用设备少。运输费用低。运输环节少,系统简单。
  • 通风路线短,风流方向转折变化少,同时使巷道交岔点和风桥等通风构筑物也相应减少。
  • 对某些地质条件适应性较强。
  • 技术经济效果比较显著。

目前我国条带式准备一般用于煤层倾角小于12°的缓斜煤层,当对采煤工作面设备采区有效技术措施后,可用于12°~17°的煤层。

第3节 准备方式中的几个主要问题

一、回采巷道的布置

(一)单煤层区(分)段平巷布置

布置要点:

  • 每个工作面至少有两条平巷,以形成风流循环;
  • 平巷内的水能自动流到上山;
  • 运输平巷要铺胶带输送机,不能弯弯曲曲;
  • 平巷即可单巷布置(需要沿空留巷),又可双巷布置。

一、回采巷道的布置

(二)分层平巷布置

分层平巷倾斜式布置

一、回采巷道的布置

(二)分层平巷布置

分层平巷水平式布置
分层平巷重叠式布置

第3节 准备方式中的几个主要问题

二、上(下)山的数目、位置和布置方式

(一)上山数目的确定

一般情况下,采区布置两条上山已经够了。在以下情况下需要增加上山数目:

  • 产量大;
  • 瓦斯涌出量大;
  • 上下区段同时生产,需要简化通风系统;
  • 对采区地质了解不够,需要通过煤层上山探明煤层地质。

二、上(下)山的数目、位置和布置方式

(二)上山的位置和方式

  • 岩石上山
    • 掘进费用高,速度慢
    • 维护费用低
    • 煤柱损失少
    • 掘进时不宜发生瓦斯事故
  • 煤层上山(与岩石上山的优缺点相反)

(二)上山的位置和方式

采区上山的位置

第3节 准备方式中的几个主要问题

三、采区的生产能力

采区生产能力采区内采煤工作面和掘进工作面产量之和。

单位:t/d,万t/a

决定因素:与煤层赋存条件(包括煤层层数、厚度、地质构造情况、各种灾害情况等)、机械化水平、矿井设计生产能力和服务年限等相关。采区生产能力是综合性的能力,是由各生产环节的生产能力组成的。一般由采煤工作面的产量和个数决定。

第3节 准备方式中的几个主要问题

四、采区走向长度

双翼采区的一翼走向长度不宜小于采煤工作面连续推进一年的长度。双翼可跨上山开采的采区走向长度一般为1000~1500m,双翼不能跨上山开采的采区走向长度一般为1500~3000m。我国某些地质条件简单的采区一翼走向长度可达3000~6000m。

第3节 准备方式中的几个主要问题

五、工作面(倾斜)长度

工作面最短长度

目前我国工作面长度有不断增加的趋势,多数矿井综采工作面长度达到200~250m,部分高产高效矿井综采工作面达到了250~350m,少数综采工作面甚至超过了400m。

第3节 准备方式中的几个主要问题

六、采区车场、煤仓和装车站

采区车场是采区上(下)山与区段平巷或阶段运输大巷连接处一组巷道和硐室的总称。是采区巷道的组成部分。根据所处的位置,可分为上部中部下部车场

六、采区车场、煤仓和装车站

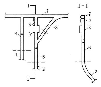
1. 上部车场

双面上部甩车场

1-绞车房;2-轨道上山;3-阶段回风大巷;4-区段回风平巷;5-甩车道

平车场

1-运输上山;2-轨道上山;3-绞车房;4-联络石门 5-绞车房回风巷;6-平车场;7-总回风道;8-岔巷

六、采区车场、煤仓和装车站

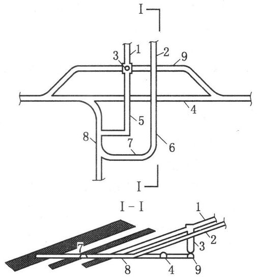
2. 中部车场

单向斜甩绕道式车场

1-运输上山;2-轨道上山;3-区段轨道平巷; 4-甩车道;5-绕道

六、采区车场、煤仓和装车站

3. 下部车场

大巷装车站采区下部车场





1-运输上山;2-轨道上山;3-采区煤仓;4-大巷;5-人行道;6-材料车道;7-绕道

六、采区车场、煤仓和装车站

绕道式装车站采区下部车场

3. 下部车场






1-运输上山;2-轨道上山;3-采区煤仓;4-大巷;5-人行道;6-材料车道;7-顶板绕道;8-采区石门;9-底板绕道装车站储车线

第3节 准备方式中的几个主要问题

七、采区采出率


国家对采区和工作面采出率规定了控制指标。采区采出率:厚煤层不低于0.75,中厚煤层不低于0.8,薄煤层不低于0.85。工作面采出率:厚煤层分层工作面不低于0.93,中厚煤层不低于0.95,薄煤层不低于0.97。

第3节 准备方式中的几个主要问题

八、采区煤柱尺寸

作 业

  1. 课本138页习题3:条带准备方式的优点、缺点和适用条件是什么?
  2. 课本138页习题9:采区上山的布置方式有哪几种?

  谢谢!

返回目录
返回首页