西安科技大学

安全工程专业课程

井巷工程


金洪伟 & 双海清
西安科技大学安全科学与工程学院

返回目录⇡

如何浏览?

  1. 从浏览器地址栏打开 https://zimo.net/jhgc/
  2. 点击章节列表中的任一链接,打开相应的演示文稿;
  3. 点击链接打开演示文稿,使用空格键或方向键导航;
  4. f键进入全屏播放,再按Esc键退出全屏;
  5. Alt键同时点击鼠标左键进行局部缩放;
  6. Esco键进入幻灯片浏览视图。

请使用最新版本浏览器访问此演示文稿以获得更好体验。

第三章 爆破理论与技术

目 录

  1. 炸药和爆炸概论
  2. 工业炸药
  3. 起爆方法
  4. 破岩原理与爆破技术

第一节 炸药和爆炸概论

爆炸是物质系统一种极迅速的物理或化学变化,在变化过程中,瞬间放出其内含能量,并借助系统内原有气体或爆炸生成气体的膨胀,对系统周围介质做功,使之发生巨大的破坏效应,同时可能伴随声、光、热效应。

第一节 炸药和爆炸概论

一、炸药爆炸的基本特征

炸药是在一定条件下,能够发生快速化学反应、放出能量、生成气体产物,显示爆炸效应的化合物或混合物。

组成炸药的主要元素是CHON四种。炸药爆炸的过程也就是炸药中HC原子的氧化过程,但氧化时所需要的O,不需取自周围空气,而是炸药本身所含有的,这是炸药和燃料的重要区别。

一、炸药爆炸的基本特征

当化学反应具备上述 3 个条件时,反应产物就能处于高温高压高速的状态,对周围介质有巨大的做功能力和破坏作用。

二、炸药及其分类

二、炸药及其分类

1. 按炸药的应用范围和成分分类

  • 起爆药:极其敏感,反应速度快。常用来制造雷管,用以起爆其他类型的炸药。常用的有二硝基重氮酚(DDNP,应用广泛)、雷汞(安定性差、有剧毒,已不用)、叠氮化铅(简称氮化铅)等。
  • 猛炸药:比较钝感,稳定性好,需要的引爆能量大,爆炸威力大。
    • 单质猛炸药:化学成分为单一化合物。常用的有TNT、黑索金、泰安、硝化甘油等,常用作雷管的加强药、导爆索和导爆管的药芯以及混合炸药的敏化剂。
    • 混合炸药:由两种或两种以上独立的化学成分组成的爆炸性混合物,通常是硝酸铵作主要成分与可燃物混合而成。是工程爆破中用量最大的炸药。常见的有粉状硝铵类炸药(如铵油炸药、膨化硝铵炸药、粉状乳化炸药等)、含水硝铵类炸药(如乳化炸药、水胶炸药、重铵油炸药等)。
  • 发射药:对火焰极其敏感,在敞开环境下爆燃,在密闭环境下爆炸,威力弱;吸水后敏感性大大下降。如黑火药。

二、炸药及其分类

2. 按炸药的使用条件分类

  • 第一类炸药:准许在一切地下和露天工程中使用的炸药。包括有瓦斯和矿尘爆炸危险的矿山,又称煤矿许用炸药安全炸药。这类炸药爆炸产物的有毒气体不超过安全规程所允许的量,并保证不会引起瓦斯和煤尘爆炸。
  • 第二类炸药:可在地下或露天工程中使用,但不能用于有瓦斯或矿尘爆炸危险地方。
  • 第三类炸药:专用于露天作业场所工程爆破的炸药。

二、炸药及其分类

3. 按炸药的主要化学成分分类

  • 硝铵类炸药:以硝酸铵为主要成分,加入适量的可燃剂、敏化剂及其他添加剂的混合炸药。应用最为广泛。
  • 硝化甘油类炸药:以硝化甘油为主要成分,加入硝酸钾、硝酸铵作氧化剂,硝化棉为吸收剂,木粉为疏松剂,多种组分混合而成的炸药。威力大,安全性差,有毒。
  • 芳香族硝基化合物类炸药:主要是苯及其同系物的硝基化合物,如TNT、黑索金等。不常用。

第一节 炸药和爆炸概论

三、炸药的氧平衡和爆热

炸药的爆炸反应是一种氧化反应,氧化剂由炸药自身提供。C、H是可燃剂,O是氧化剂。炸药爆炸反应有 2 种基本反应过程:

2H2 + O2 = 2H2O + 240.7 kJ/mol

C + O2 = CO2 + 395 kJ/mol

炸药中的含氧量能否将炸药中C、H元素充分氧化,直接影响着炸药能量的充分发挥。若不能充分氧化,则放热量较少,容易生成CO和NO有毒气体。

三、炸药的氧平衡和爆热

氧平衡
用来表示炸药内含氧量与充分氧化可燃元素所需氧量之间的关系,通常用每克炸药不足或多余的氧的克数来表示。

炸药可写成分子通式CaHbNcOd,则其氧平衡计算公式为:

式中,M 为炸药的摩尔质量;16 为氧的相对原子量。

三、炸药的氧平衡和爆热

  1. K > 0 时,正氧平衡。剩余的氧与游离氮化合生成NO有毒气体,并吸收热量。NO对瓦斯、煤尘的燃烧与爆炸起催化作用,不宜井下使用。
  2. K < 0 时,负氧平衡。可燃元素未充分利用,生成CO(有毒)和H2可燃气体,甚至还有固态碳。井下很少使用。
  3. K = 0 时,零氧平衡。放出大量热,不会生成有毒气体。

混合炸药的氧平衡计算公式

K = m1K1 + m2K2 + m3K3 + ...

式中,m1, m2, m3是混合炸药各组分的质量百分比;K1, K2, K3是混合炸药各组分的氧平衡值。

工业炸药常用成分的氧平衡值

三、炸药的氧平衡和爆热

盖斯三角形图解

爆热是单位质量炸药在定容条件下爆炸时放出的热量。单位是 kJ/mol 或 kJ/kg。它是炸药做功的能源,也是评价炸药威力的直接指标。

可通过盖斯定律对炸药的爆热进行理论计算。该定律认为:化学反应的热效应与反应进行的路径无关,而只取决于反应的初态和终态。右图中,有:

炸药爆热 Q = 由元素的稳定单质直接生成爆炸产物的生成热 Q1 - 从元素的稳定单质生成炸药所放出或吸收的热量 Q2

部分爆炸产物的生成热
部分单质炸药及可燃剂的生成热

第一节 炸药和爆炸概论

四、炸药的爆轰和爆速

1. 炸药的燃烧与爆轰

炸药有 3 种化学变化形式:

  • 缓慢分解:缓慢进行的化学变化过程,在整个物质内展开。
  • 燃烧:靠热传导来传递能量和激化化学反应,在局部区域进行,每秒数十毫米到数百米,易受外界条件的影响,燃烧产物的运动方向与反应区的传播方向相反,压力低。
  • 爆轰:靠压缩波的作用来传递能量和激发化学反应,在局部区域进行,高于声速传播,达 2000~9000m/s,不受外界条件影响,爆轰产物的运动方向与反应区的传播方向相同,压力达数千至数万兆帕。
冲击波形成示意图

四、炸药的爆轰和爆速

2. 冲击波

冲击波是介质中的介质特性(如压力、温度或速度)在波阵面上发生突跃变化的压缩波,又称激波

  1. t0 时刻:活塞未动,管内气体未受扰动。
  2. t1 时刻:活塞快速运动到 R1 位置,前端气体受到压缩产生一个压缩波,波头为 A1A1
  3. t2 时刻:活塞运动到 R2 位置,形成第二个压缩波,因其在密度增大的空气中传播,其波速大于第一个压缩波。
  4. t3 时刻:产生第三个压缩波,波速更大。
  5. tn 时刻:多个压缩波追赶上前面的压缩波并叠加,引起状态参数突然跃升,形成陡峭波头的冲击波

四、炸药的爆轰和爆速

3. 爆轰波

冲击波阵面所到之处,以其高温、高压、高速、高密度等状态所表征的高能量使炸药分子活化而产生化学反应,反应所释放的能量补偿了冲击波传播时的能量损耗,冲击波得以维持并继续向前传播,这种伴随有化学反应的冲击波,称为爆轰波

冲击波波阵面与紧跟其后的化学反应区是以相同的速度向前传播,这个速度称为爆轰波传播速度,简称爆速。是衡量炸药质量的重要指标。

四、炸药的爆轰和爆速

爆速与药卷直径的关系

4. 爆速及其影响因素

装药直径:药卷直径越小,爆轰产生的能量逸散比例越大。当药卷直径小到一定程度,就完全不能传爆,这时的直径称为临界直径。药卷直径增大,爆速提高,最后达到稳定值,此时的药卷直径称为极限直径。如2号岩石硝铵炸药的临界直径为15mm。

装药密度:对单质炸药而言,爆速随装药密度增大而增大。对混合炸药,在一定密度范围内,爆速随密度增大而增大;但密度增大到一定值时,爆速达到最大值;密度进一步增大,爆速反而下降;密度大到某一值,会出现“压死”的拒爆现象。

4. 爆速及其影响因素

装药外壳:装药外壳可限制炸药爆轰时反应区爆轰产物的侧向飞散,从而减小药卷的临界直径。

炸药粒度:一般炸药粒度小,临界直径和极限直径减小,爆速增高,粒度的变化不影响极限爆速。

起爆冲能:起爆冲能不会影响炸药的理想爆速,但要使炸药达到稳定爆轰,必须供给炸药足够的起爆能,且激发冲击波速度必须大于炸药的临界爆速。

四、炸药的爆轰和爆速

5. 炸药传播时的间隙效应

连续多个混合炸药药卷,通常在空气中都能正常传爆。但在炮眼内,如果药卷与炮眼孔壁存在间隙,常常会发生爆轰中断或爆轰转变为燃烧的现象。如有实验表明,将直径 35mm 的 2 号岩石硝铵炸药放入内径 40~120mm 的钢管中,不管放入多少药卷,从一端起爆总是只能爆炸 5、6 个卷药。这种现象称为间隙效应,又称管道效应沟槽效应

对于多数单质炸药,间隙反而对爆轰有利。采用耦合散装炸药可以从根本上克服间隙效应,采用水胶炸药或乳化炸药可以明显消除因间隙效应发生的爆轰中断现象。

第一节 炸药和爆炸概论

五、炸药的猛度与爆力

炸药对周围介质的各种机械作用统称为爆炸作用。炸药的爆炸作用可分为两部分,即产生冲击波或应力波的动作用和爆炸气体产物的流体静压或膨胀功的准静态作用,分别简称炸药的动作用和静作用。

五、炸药的猛度与爆力

铅柱压缩法测定炸药猛度

1—导线;2—雷管;3—药包;4—钢片;5—铅柱;6—钢板;7—细绳;8—爆炸后被压缩的铅柱

1. 猛度

炸药的猛度是指炸药爆炸瞬间爆轰波和爆轰产物对邻近的局部固体介质的破碎能力。它是用一定规格铅柱被压缩的程度来表示的。

如图,炸药爆炸后,铅柱被压缩成蘑菇形,量出铅柱压缩前后的高度差(mm),即为该炸药的猛度。

五、炸药的猛度与爆力

铅铸扩孔法测定炸药爆力

1—测试炸药;2—雷管;3—石英砂

2. 爆力

炸药的爆力是指爆生气体在高温下膨胀做功破坏周围介质的能力。常用铅铸扩孔法来衡量。

如图,炸药爆炸后,孔眼被扩大成梨形,这时的孔眼容积减去原孔眼容积以及雷管扩孔体积,所得值即为炸药的爆力,ml。

第一节 炸药和爆炸概论

六、炸药的敏感度

炸药在外能作用下,发生爆炸的难易程度称为炸药的敏感度,简称感度。它是衡量炸药安全性和起爆难易程度的最重要指标。

1. 热感度

热感度指热能作用引起炸药爆炸的难易程度。表示方法:

  • 加热感度:常用爆发点表示,指炸药受到均匀加热时,发生爆炸的温度。
  • 火焰感度:炸药在明火(火焰、火星)作用下发生爆炸的难易程度,常以导火索燃烧时喷出的火焰点燃 1.0g 炸药试样的最大距离来表示。
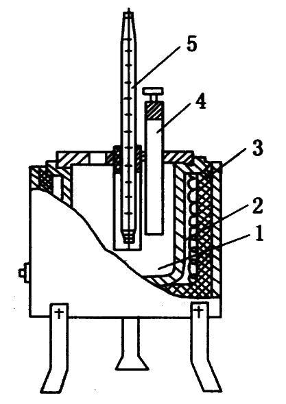
爆发点测定器

1—合金浴锅;2—电热丝;3—隔热层;4—铜试管;5—温度计

部分炸药的爆发点

六、炸药的敏感度

2. 机械感度

机械感度是炸药对冲击、摩擦、挤压、针刺等机械作用的敏感程度。表示方法:

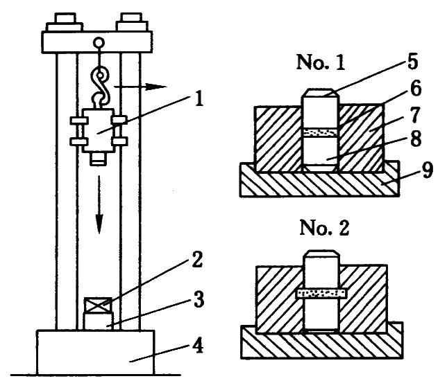
  • 冲击感度:常以落锤仪测定测定。即以 10kg 落锤自 25cm 的高度自由下落,冲击位于砧子和冲杆之间的 50mg 炸药试样。试验 25 次,发生爆炸的百分率即为冲击感度。
  • 摩擦感度:用摆式摩擦感度测定仪测定。施加静荷载的击柱之间放置 20mg 炸药试样,在摆锤打击下,上下两击柱间发生水平移动以摩擦炸药试样。试验 25 次,发生爆炸的百分率即为摩擦感度。
立式落锤仪

1—落锤;2—撞击器;3—砧子;4—基础;5—上击柱;6—炸药;7—导向套;8—下击柱;9—底座

摆式摩擦感度测定仪

1—摆锤;2—击柱;3—角度表盘;4—测定装置(上下击柱);5—油压机;6—压力表;7—顶板;8—导向套;9—柱塞

部分炸药的冲击感度
部分炸药的摩擦感度

六、炸药的敏感度

3. 爆轰感度

爆轰感度是指炸药对别的炸药爆炸时所产生的爆轰冲击的敏感程度。

单质炸药常用起爆它所需要的最小起爆药量来表示。混合炸药用殉爆距离来表示。

殉爆距离的测定

1—主动药包;2—殉爆药包;C—殉爆距离

殉爆距离是指装有雷管的主动药包爆炸时,能使相隔一定距离的另一同种药包百分百发生爆炸的最大距离。

第二节 工业炸药

工业炸药几乎全部都是混合炸药。为了改善混合炸药的爆炸性能,在配方中经常加入一些单质猛炸药。我国矿用炸药是以硝酸铵类炸药为主,分为煤矿安全炸药和非安全炸药。

第二节 工业炸药

工业炸药应具有以下特点:

  • 炸药性能好,有足够的威力。
  • 有较低的机械感度和适当的起爆感度,既能保证生产、储存、运输和使用的安全,又能保证有效地被起爆。通常以 8 号雷管直接引爆为宜。
  • 不含或少含有毒成分,达到或接近零氧平衡。
  • 具有较高的热安定性、物理化学相容性和适当的稳定储存期。
  • 炸药生产、使用过程中不会给人体和环境带来较大的危害或污染。
  • 原料来源广泛,价格便宜,加工工艺简单,使用方便,操作安全可靠。

第二节 工业炸药

一、单质猛炸药

TNT

1. 梯恩梯(TNT)

三硝基甲苯(Trinitrotoluene, TNT),[C6H2(NO2)3CH3]。淡黄色晶体,吸湿性小,几乎不溶于水。热安定性好,180℃才分解。爆热4229kJ/kg,爆速6850m/s,爆力285~300ml,猛度19.9mm,机械感度低,枪弹贯穿不爆炸也不燃烧,殉爆距离15cm。过去主要用作硝铵类炸药的敏化剂,单独使用是重要的军事炸药。因有毒性,工业上已不再使用。

一、单质猛炸药

RDX晶体

2. 黑索金(RDX)

环三亚甲基三硝胺(黑索今, Hexogen, Research Department explosive, RDX),[(O2NNCH2)3]。白色晶体,不吸湿,几乎不溶于水。化学性质稳定,50℃以下长期储存不分解。机械感度比较高。当ρ=1.66g/cm3,爆力520ml,猛度16mm,爆速8300m/s。常用作导爆索的药芯和雷管中的加强药。可用作毒鼠药。

一、单质猛炸药

PETN

3. 太恩(PETN)

季戊四醇四硝酸酯(Pentaerythritol Tetranitrate, PETN, 太安),[C5H8(ONO2)4]。白色晶体,几乎不溶于水,当ρ=1.74g/cm3时,爆热6225kJ/kg,爆速8400m/s,爆力500ml,猛度15mm。安定性不如黑索金,感度高,在军事上已被淘汰,仅有传爆以及制备低密度炸药等一些特殊用途上还有使用。可用于治疗心脏病。

4. 特屈儿

2,4,6-三硝基苯甲硝胺(Tetryl),[C7H5N5O8]。纯品为白色无味晶体,但不纯或受光时会发黄,不吸湿,难溶于水。对冲击、摩擦的感度较迟钝。热安定性较好,机械感度高于梯恩梯,但低于太恩和黑索金。遇火迅速燃烧,可转为爆炸,爆发点为195~220℃。当ρ=1.7g/cm3时,爆速7800m/s。常用导爆索的药芯及雷管中的加强药。

一、单质猛炸药

5. 硝化甘油(NG)

又称硝酸甘油(Nitroglycerin, NG),[C3H5N3O9]。纯品无色透明,含杂质时表现为黄色油状透明液体。在13℃时冻结,沸点256℃,相对密度1.5931。微溶于水。受热、撞击极易爆炸。1847年由都灵大学的化学家索布雷洛发明,瑞典化学家阿尔弗雷德·诺贝尔在1866年利用硝酸甘油发展高稳定性、防误爆的硝酸甘油炸药。至今已发展到数百种配方,原理都是把硝酸甘油和挥发性低的次级炸药,各类其他配料,粘结剂,填充料等混合在一起,如硝化纤维,硅藻土等等。医药上用作血管扩张剂。

第二节 工业炸药

二、硝铵类炸药

硝铵类炸药是以硝酸铵为主要成分的混合炸药,是应用最广泛的工业炸药品种之一,具有中等威力和一定的敏感性。

硝酸铵

硝酸铵(Ammonium Nitrate, AN),[NH4NO3]。白色结晶体,易溶于水,易吸湿结块。可用于农业作为高氮肥料。也是一种正氧平衡的弱性炸药。长期储存、温度转变都会造成晶粒黏结而成硬块,受潮和硬化后爆炸性能显著恶化。

二、硝铵类炸药

硝酸铵

纯硝酸铵在常温下是稳定的,对打击、碰撞或摩擦均不敏感。但在高温、高压和有可被氧化的物质(还原剂)存在及电火花下会发生爆炸,硝酸铵在含水3%以上时无法爆轰。硝酸铵起爆感度很低,一般不能直接用雷管或导爆索起爆,需用强力的起爆药卷起爆。起爆后,爆速可达2000~3000m/s。爆力160~230ml。

二、硝铵类炸药

1. 铵梯炸药

通用的硝铵炸药,性能稳定;防水性能一般。分为煤矿、岩石、露天三类。前两类可用于井下。其特点是氧平衡值接近于零、有毒气体产生量受严格限制。煤矿硝铵炸药是供有瓦斯或煤尘爆炸危险的矿井使用的炸药,必须检验它对瓦斯引爆的安全性。露天炸药以廉价为主,故硝酸铵含量较高,梯恩梯含量较低,木粉也多一些。各类铵梯类炸药又分1~4号,威力按4、1、2、3递减,号越大安全性越好。

二、硝铵类炸药

岩石铵梯炸药

1. 铵梯炸药

岩石硝铵炸药、煤矿硝铵炸药一般均制成直径27 mm、32mm、35 mm、38mm,重100g、150g、200g的药卷。药卷一端为平顶。另一端向内凹入,称为聚 能穴。爆炸能量在聚能穴所指方向上比较集中,有利于传爆,在装药时应予以注意。岩石硝铵炸药有效使用期限为6个月;煤矿硝铵炸药有效使用期限为4个月。

岩石硝铵炸药的组成、性能和爆炸参数计算值
煤矿硝铵炸药的组成、性能和爆炸参数计算值

二、硝铵类炸药

2. 铵油炸药

不含梯恩梯,原料来源丰富、加工简单、使用安全,其价格低廉,因此在露天矿、金属矿、水利、铁道等工程中使用较多。爆炸威力较低,比较钝感,易吸湿结块,贮存期短。

二、硝铵类炸药

3. 高威力硝铵炸药

进行硬岩深孔爆破、大断面一次成巷、坚硬岩石顶板的强制放顶等都需要威力更高的炸药。提高硝铵炸药威力的途径有以下几种:增大密度、加入铝粉或加入猛炸药。国产硝铵高威力炸药大都属于增加猛炸药这一类,故称为铵锑黑炸药。也有既加黑索今又加铝粉的,称为铵梯黑铝炸药

二、硝铵类炸药

4. 被筒炸药

以2号煤矿铵梯炸药的药卷为药芯,装入直径为42mm的石蜡纸筒内,在药卷和纸筒间填满粉状食盐,再封孔形成的单个药卷。

优点:消焰剂含量可高达药芯质量的50%,既提高了安全性,又解决了加盐后降低爆炸性能和爆轰不稳定的矛盾。

缺点:被筒炸药工艺比较复杂,工序较多,药卷直径大,容易吸潮,装药时被筒易破裂,药包之间不易传爆。

适用性:目前只用于爆破处理堵塞的溜煤眼和煤仓。

第二节 工业炸药

三、含水炸药

1. 浆状炸药

浆状炸药是1956年底由美国犹他(UTAH)大学库克(Cook)和加拿大铁矿公司的法纳姆(Farnum)研究得出的,是硝铵类炸药的革命性发展。其基本成分是氧化剂、敏化剂和水。其特点是将水作为炸药的一种组分,解决了工业炸药的抗水问题,同时改善了炸药的爆轰性能。

抗水性强;密度大,爆炸威力大;原料来源广、成本低,制造和使用安全。爆轰的临界直径较大。大多用于有水环境的大炮孔露天爆破作业。

三、含水炸药

2. 水胶炸药

水胶炸药是1972年美国杜邦公司的(G‧R‧Cattermole)首先提出的。是在浆状炸药的基础上发展起来的,与浆状炸药没有严格的界限。与浆状炸药的主要差别在于它采用水溶性的甲基胺硝酸盐作为敏化剂和密度调节剂。

优点:威力大,抗水性强,爆炸后有毒气体生成量少;机械感度和火焰感度低,储存稳定性好;可做成小直径(<50mm)药卷,采用普通雷管即可起爆;规格品种多,煤矿许用型可用于高瓦斯条件;具有塑性和可流动性,便于机械装填。作为各种矿山爆破用药,已取代硝化甘油系炸药和铵梯炸药而成为工业炸药的重要品种之一。

缺点:原材料成本高,价格贵。

三、含水炸药

3. 乳化炸药

继浆状炸药、水胶炸药之后的另一种性能更为优良的含水炸药。

乳化炸药由氧化剂水溶液、燃料油、乳化剂和敏化剂四种基本成分组成。氧化剂水溶液与燃料油经乳化而成的油包水型乳状液是它的爆炸性基质。与浆状炸药相反,在乳化炸药中,传播爆轰的连续介质不是氧化剂水溶液而是燃料油(油相)。乳化成微滴的氧化剂水溶液为分散相,悬浮在连续的油相中。薄层油膜包覆在氧化剂水溶液微滴表面,既可防止内部水分蒸发,又可阻止外部水分浸入,使它具有非常好的抗水性能。

3. 乳化炸药

优点:

  • 可根据工程爆破需要制成密度在0.8~1.45g/cm3的炸药;
  • 爆速和猛度较高,爆速可达4000~5500m/s,猛度可达17~19mm,殉爆距离7.0~12.0cm,临界直径12~16mm。
  • 起爆感度高,可用 8 号雷管起爆。
  • 抗水性能强。
  • 环境污染小,爆炸后有毒气体生成量少,生产与使用安全。
  • 不需要添加猛炸药,加工工艺简单,原料来源广,生产成本较低,爆破效果好,可实现机械化装药。

缺点:储存稳定性和质量稳定性还交叉,需要进一步研究改善。

适用条件:适合各种条件的爆破作业,已广泛用于工程爆破中。

煤矿许用型含水工业炸药的主要组成
煤矿许用型含水工业炸药的性能与爆轰参数值
煤矿许用乳化炸药

三、含水炸药

4. 其他炸药

近年来,出现了一种由乳化炸药和铵油炸药按一定比例混合而成的新型复合型炸药,称为中铵油炸药。其特点是将乳化炸药良好的爆炸性能和抗水性能,与铵油炸药低成本的优点结合起来,形成一种适用性更强、威力较高且成本低的混合炸药。其性能随着乳化炸药与粒装铵油炸药的比例不同而变化。

第二节 工业炸药

四、离子交换炸药

离子交换炸药是指以硝酸钠和氯化铵的混合物为主要成分,再加敏化剂硝化甘油而制成的煤矿许用炸药,硝酸钠和氯化铵称为离子交换盐。

在爆炸的高温高压条件下,交换盐就会发生反应,进行离子交换,生成氯化钠和硝酸铵。在爆炸瞬间生成雾状氯化钠,作为消焰剂,高度弥散在爆炸点周围,起到降低爆温和抑制瓦斯爆炸的作用,同时生成的硝酸铵作为氧化剂继续参与爆炸。

适用性:离子交换炸药是现阶段煤矿许用炸药炸安全性能最高的品种,特别适用于有煤与瓦斯突出的工作面。

第二节 工业炸药

五、煤矿许用炸药

按是否被允许在有瓦斯或煤尘爆炸危险的采掘工作面使用,可将炸药分为煤矿许用炸药非煤矿许用炸药两类。其中煤矿许用炸药又称安全炸药,包括煤矿铵梯炸药(包括抗水煤矿铵梯炸药)、煤矿水胶炸药、煤矿乳化炸药、离子交换炸药和被筒炸药。

五、煤矿许用炸药

1. 煤矿许用炸药的特点

  • 根据炸药的安全等级限制炸药的爆热、爆温和爆压。
  • 炸药配比应接近于零氧平衡。
  • 爆炸后无灼热固体产物。
  • 爆炸反应要完全。
  • 煤矿许用炸药中要加入消焰剂,从根本上抑制瓦斯的引火。
  • 炸药或爆炸产物中不能含有促进瓦斯连锁反应的成分和外来夹杂物。
  • 爆炸产生的有毒、有害气体量要符合国家标准。
  • 有适中的起爆感度和传爆能力,保证稳定爆轰。

五、煤矿许用炸药

2. 煤矿许用炸药的安全等级及适用范围

煤矿许用炸药分为5级,级别越高越安全。其中1、2级适用于低瓦斯矿井,3、4级适用于高瓦斯和煤和瓦斯突出矿井,5级用于溜煤眼爆破和过石门揭开瓦斯突出煤层。《煤矿安全规程》第三百五十条规定:

  1. 低瓦斯矿井的岩石掘进工作面,使用安全等级不低于一级的煤矿许用炸药。
  2. 低瓦斯矿井的煤层采掘工作面、半煤岩掘进工作面,使用安全等级不低于二级的煤矿许用炸药。
  3. 高瓦斯矿井,使用安全等级不低于三级的煤矿许用炸药。
  4. 突出矿井,使用安全等级不低于三级的煤矿许用含水炸药。
煤矿许用炸药的安全等级及适用范围

第二节 工业炸药

六、矿用炸药常见异常及对安全爆破的影响

  • 铵梯炸药受潮或超过保质期发生硬化
    硬化了的炸药不准在井下使用,因为炸药硬化后爆力降低,感度差,传爆不好,容易发生残爆、燃烧甚至拒爆,因此瓦斯煤尘爆炸,同时,生成的有害气体增多,威胁人体健康和安全。
  • 炸药性能不稳定
    雷管起爆后,药卷不爆或爆炸不完全而剩部分药卷,造成爆轰不稳定,易形成爆燃或残爆。增加了爆破引燃瓦斯、煤尘的危险性。
  • 外皮破损,出现漏药、破乳
    这种情况使炸药难以发生爆炸,即使发生爆炸,也容易造成爆燃或残爆,使爆破故障增多,同时也达不到爆破工作的要求。
  • 当气温较低,特别在零度以下时,水胶炸药的爆炸性能随温度降低而下降,有可能出现残爆或拒爆
    因此,水胶炸药在 0℃以上使用为好,药温不宜过低。

第三节 起爆器材

一、起爆器材的种类

炸药属于不稳定的化学体系,但只有在一定的外界能量的作用下才能起爆,这种外界能量叫做起爆能;引起炸药发生爆炸反应的过程称为起爆;而用于起爆炸药的爆破器材又称为起爆器材

常用的起爆器材有雷管导爆索继爆管导爆管导爆管连通器具等。各种雷管属于起爆材料;导爆管属于传爆材料;继爆管、导爆索既属于起爆器材,又可用于传爆。

第三节 起爆器材

二、雷管

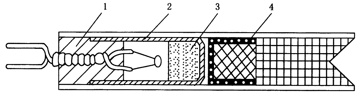
瞬发电雷管构造图

(a) 直插式;(b) 药头式

1—脚线;2—密封塞;3—桥丝;4—起爆药;5—引火药头;6—加强帽;7—加强药;8—管壳

1. 瞬发电雷管

  • 管壳:铜管或纸筒;
  • 起爆药:二硝基重氮酚;
  • 加强药:黑索金,增加雷管的起爆威力;
  • 电点火装置
    • 直插式:包括脚线、密封塞和桥丝,无加强帽,桥丝直接插入二硝基重氮酚;
    • 药头式:包括脚线、密封塞、桥丝、引火头和加强帽。
  • 起爆过程
    • 直插式:脚线通电→桥丝在电流作用下使起爆药起爆→猛炸药爆炸;
    • 药头式:脚线通电→桥丝在电流作用下点燃引火头→火焰通过加强帽的中心孔使起爆药起爆→猛炸药爆炸。

2. 秒延期电雷管

秒延期电雷管构造图

1—蜡纸封口;2—排气孔;3—精制导火索

通电以后经过一段时间后,才爆炸的雷管,叫延期雷管;延期时间以秒为单位计量的,叫秒延期电雷管

结构:与瞬发雷管的不同之处在于引火头与起爆药之间有一段精致的导火索做延期药,用导火索的长度来控制延期秒量。引火头周围的管壳上有排气孔,排除燃烧生成的气体,避免压力升高,影响燃烧速度。

3. 毫秒延期电雷管

毫秒延期电雷管构造图

1—塑料塞;2—延期内管;3—延期药;4—加强帽

通电后经过若干毫秒起爆的电雷管叫毫秒延期电雷管

结构:延期内管,固定和保护延期药,并作为容纳延期药燃烧时生成的气体的空间,保证压力不变。

延期药有两种:

  1. 硅铁、铅丹、硫化锑、硅藻土;
  2. 过氧化钡、硫化锑、硅藻土。

延期秒量根据延期药量控制。硅藻土能吸收气体,减小压力。

电雷管
国产延期电雷管的延期时间
国产延期电雷管的延期时间(续)

二、雷管

《煤矿安全规程》规定:

  • 在采掘工作面,必须使用煤矿许用瞬发电雷管、煤矿许用毫秒延期电雷管或者煤矿许用数码电雷管。使用煤矿许用毫秒延期电雷管时,最后一段的延期时间不得超过130ms。使用煤矿许用数码电雷管时,一次起爆总时间差不得超过130ms,并应当与专用起爆器配套使用。
  • 井下爆破作业,必须使用煤矿许用炸药和煤矿许用电雷管。一次爆破必须使用同一厂家、同一品种的煤矿许用炸药和电雷管。

二、雷管

4. 电雷管主要性能参数

电雷管的点燃起爆原理遵循焦耳楞次定律:

因此,电雷管的主要性能参数包括全电雷管电阻最大安全电流最小发火电流6ms发火电流百毫秒发火电流串联起爆电流起爆能力延期时间发火冲能发火感度等。

三、导爆索和继爆管

导爆索结构

1—芯线;2—药芯;3—内层棉纱;4—中层棉纱;5—内防潮层(沥青层);6—纸条;7—外层棉纱;8—外防潮层

1. 导爆索

导爆索是以黑索金或太恩等单质猛炸药为药芯,外层用棉线、麻线或人造纤维等材料被覆,能够传播爆轰波的索状起爆器材。

根据使用条件不同,导爆索可分为普通导爆索安全导爆索(加裹一层食盐)。导爆索的主要性能有爆速(>6500m/s)、起爆能力(能直接起爆工业炸药)、感度(能被雷管直接引爆)、耐水性(在0.5m深的水中浸泡24h后,其感度和传播性能仍合格)、使用环境温度(-45~450℃)、耐热性(在50℃±3℃的条件下保温6h,外管及传爆性能不变)和耐冻性(-40℃±3℃的条件下冷冻2h,其感度及传爆性能仍合格)等。

导爆索

三、导爆索和继爆管

2. 继爆管

继爆管是配合导爆索来实现毫秒延期起爆效果的爆破器材。由消爆管不带点火装置的毫秒延期雷管组成,对导爆索起延期作用。分单向继爆管双向继爆管

工作原理:主动端的导爆索爆轰所产生的冲击波和高温气流,通过消爆管和大内管中的气室,将压力和温度降低,使其不能击穿而恰好能引燃延期药,延期药燃烧经过若干毫秒间隔时间后引爆雷管,后者再引爆被动端的导爆索。

单向继爆管结构

1—导爆索;2—连接管;3—消爆管;4—外套管;5—大内管;6—纸垫;7—延期药;8—加强帽;9—起爆药;10—加强药;11—雷管壳

继爆管
用导爆索和继爆管起爆

特点:

  • 安全:药包内无雷管,装药、处理瞎炮安全;没有杂散电流影响。
  • 爆破效果好:起爆时间准确,避免间隙效应,有利于深孔爆破。      

四、导爆管与导爆管连通器材

导爆管

导爆管是一种在内壁涂有薄层高能炸药、能够传播爆炸冲击波的聚乙烯透明塑料空心管。软管外径为 3mm,内径 1.5mm,炸药可采用奥托金与铝粉的混合物或黑索金与铝粉的混合物,药量为 14~16mg/m。导爆管不能直接起爆炸药,只能起传爆作用,起爆炸药仍需一个起爆雷管。

导爆管连通器具是与导爆管配套使用的,用于实现导爆管到导爆管之间的爆炸冲击波连续传播或分流传播的专用连接组件。

井工煤矿禁止使用导爆管爆破。

第三节 起爆器材

一、起爆方法

第三节 起爆器材

二、电力起爆法

电力起爆法是利用电能引爆电雷管进而引爆工业炸药的起爆方法。其起爆网络由电雷管导线起爆电源(直流或交流电源、专用起爆器)组成。

1. 起爆电源

起爆器又称放炮器、发爆器。起爆器有发电机式电容式两种,目前多使用后者。

电容式起爆器的原理:利用晶体管振荡电路将数节干电池的直流电改变为振荡交变电流,然后经变压器升压,再整流为直流电给主电容器充电,当充电达到额定电压时指示氖光灯发出红光,就可接通电爆网路,使主电容器放电而引爆雷管。

煤矿用电容式发爆器
部分国产矿用电容式起爆器性能指标

二、电力起爆法

《煤矿安全规程》规定:

井下爆破必须使用发爆器。开凿或者延深通达地面的井筒时,无瓦斯的井底工作面中可使用其他电源起爆,但电压不得超过380V,并必须有电力起爆接线盒。

二、电力起爆法

2. 电爆网络的连接方式

电爆网路连接方式

(a) 串联;(b) 分段并联;(c) 并簇联;(d) 闭合反向分段并联;(e) 串并联

2. 电爆网络的连接方式

  • 串联:煤矿井下最常用。优点:总电流小,适用于发爆器放爆,连线容易,易做导通检查。缺点:一发断路全部拒爆,装药前必须对全部雷管做导通检查。
  • 并联:个别雷管不导通时不易查出,但不影响其他雷管准爆。所需总电流大,必须使用线路电源起爆,容易产生外露火花,在瓦斯矿井中使用不安全。必须使用断面足够大的母线。
    • 并簇联:连线迅速方便,所需雷管脚线长。
    • 分段并联:所需雷管脚线短,容易使电流分配不均。
  • 串并联:在同样条件下起爆的雷管数最多,但连线复杂容易出错。使用串并联时首先要注意各组串联的雷管数应当完全相等,其次所有并联处应尽量采用并簇联或闭合反向分段并联,此外母线断面要大一些,接头质量要好。

第三节 起爆器材

三、爆破事故预防与处理

1. 瞎炮

通电起爆后,工作面雷管全部或少数不爆称为瞎炮

原因:全部不爆多由电路断路所致,如母线断了,接头不良,或串联电路中有一发不导通等;发爆器电源不够,使各雷管电流不够;工作失误,错接、漏接、个别雷管短路;残爆,炸药原因引起不爆现象,炸药变质,使用不当。

电路故障排除

观测法:1/2淘汰法(将整个网路分为两部分,测一部分电阻,正常的抛开,剩下的一部分再分为两半,正常的一部分抛开,不断缩小范围)。

三、爆破事故预防与处理

1. 瞎炮

处理:瞎炮处理应按《煤矿安全规程》进行。

  1. 由于连线不良造成的拒爆,可重新连线起爆。
  2. 在距拒爆炮眼0.3m以外另打与拒爆炮眼平行的新炮眼,重新装药起爆。
  3. 严禁用镐刨或者从炮眼中取出原放置的起爆药卷,或者从起爆药卷中拉出电雷管。不论有无残余炸药,严禁将炮眼残底继续加深;严禁使用打孔的方法往外掏药;严禁使用压风吹拒爆、残爆炮眼。
  4. 处理拒爆的炮眼爆炸后,爆破工必须详细检查炸落的煤、矸,收集未爆的电雷管。
  5. 在拒爆处理完毕以前,严禁在该地点进行与处理拒爆无关的工作。

三、爆破事故预防与处理

2. 早爆

爆炸材料比预定起爆时间提前爆炸的现象,这种事故很可能造成人身伤亡。这种事故的发生大多由于下述原因:

  • 器材问题:炸药雷管变质,雷管外壳破损,装药时,起爆药受到冲击、摩擦,雷管脚线绝缘损坏,装药时误触带电设备等都可能引起早爆。因此,质量有问题的器材应该报废,不应凑合使用。
  • 操作问题:如砸碰雷管,装引药时冲击挤压了雷管,加深炮窝子,瞎炮未及时处理或采用拉出雷管等危险办法进行处理,放炮器管理不严,放炮信号不明确等都可能产生早爆造成事故。
  • 杂散电流影响:井下杂散电流多由设备漏电、电车线漏电等引起。化学电,硝铵类炸药溶解形成正负离子,在大地正负极的作用下向两极移动,形成电流。

第三节 起爆器材

四、煤矿井下爆破相关制度

井下爆破工作必须由专职爆破工担任。突出煤层采掘工作面爆破工作必须由固定的专职爆破工担任。爆破作业必须执行一炮三检三人连锁爆破制度,并在起爆前检查起爆地点的甲烷浓度。

一炮三检
采掘工作面装药前、放炮前、放炮后,爆破工、班组长、瓦检员都必须在现场,三人都要检查放炮地点附近20m以内风流中的瓦斯,瓦斯浓度达到1%时不准装药、放炮;放炮后瓦斯浓度达到1%时,必须立即处理,并不准用煤电钻打眼作业。

四、煤矿井下爆破相关制度

三人连锁爆破
爆破工、班组长(跟班队长)、瓦斯检查员(安全员)三人必须同时自始至终参加爆破工作的全过程,并执行换牌制。
  1. 爆破工在检查连线工作无误后,将警戒牌交给班组长。
  2. 班组长接到警戒牌后,在检查顶板、支架、风量、瓦斯、洒水等爆破准备工作无误,达到爆破要求条件时,负责设置警戒,组织撤出人员、清点人数,确认无误后,方准下达爆破命令,将自己携带的瓦检牌交给瓦斯检查员(安全员)。
  3. 瓦斯检查员(安全员)检查确认瓦斯、煤尘合格后,将自己携带的爆破牌交给爆破工。

第五节 破岩原理与爆破技术

一、爆破作用下的岩石破碎机理

  • 粉碎区:冲击波压缩作用。103~104MPa压力,装药半径的2~3倍。
  • 破裂区:应力波和爆生气体作用,装药半径的10~15倍以上。
  • 震动区:声波作用。
球形装药在岩体中的爆破作用

1—扩大的空腔;2—压碎区;3—破裂区;4—震动区
Rk—空腔半径;Rc—压碎区半径;Rp—破裂区半径

一、爆破作用下的岩石破碎机理

最小抵抗线
如果将一个球形或立方体形药包(爆破上称之为集中药包)埋入岩石中,岩石与空气相接的表面叫做自由面,药包中心到自由面的垂直距离叫做最小抵抗线
集中药包的爆破现象

一、爆破作用下的岩石破碎机理

  • 最小抵抗线很大(a):自由面对爆破不产生影响。药包附近的岩石破坏见前面球形装药在岩体中的爆破作用。
  • 最小抵抗线减小(b):应力波传递到自由面时被反射为反向的拉伸波,造成在自由面处岩石发生拉伸破坏,表现为层裂。
  • 最小抵抗线更小(c):拉断区和裂隙区相连,形成爆破漏斗。若岩石只产生松动叫做松动漏斗
  • 最小抵抗线很小(d):岩石不但松动并且被抛掷出去,形成抛掷漏斗

一、爆破作用下的岩石破碎机理

不同爆破作用指数时的爆破情况描述:

  • n<0.75时,爆破漏斗不能形成;
  • n=0.75时,岩石只形成松动而不形成抛掷,叫做松动漏斗(控制爆破);
  • 0.75<n<1时,形成减弱抛掷漏斗(井巷掘进爆破);
  • n=1时,形成标准抛掷漏斗(爆破作用最好);
  • 1<n<3时,形成加强抛掷漏斗(露天抛掷大爆破)。

井巷掘进的爆破作用指数一般选用0.8~1.0,掏槽眼可以稍大于1。

一、爆破作用下的岩石破碎机理

两个自由面时的爆破作用

如果自由面不止一个,则应力波在各个方向都能形成反射,也都能形成由自由面向药包中心的拉断破坏区。因此增加自由面就可使炸落单位体积岩石的炸药消耗量降低,而且岩石的块度比较小而均匀。

有些资料认为,两个自由面的炸药消耗量只是一个自由面的60%,三个自由面可以降低到40%。

因此,井巷爆破工程中,一般使几个炮眼先爆发为后续炮眼的爆炸造成附加自由面,这种方法称之为掏槽,起掏槽作用的炮眼称为掏槽眼

第五节 破岩原理与爆破技术

二、柱状装药的爆破特点

装药垂直自由面的爆破漏斗

掘进井巷时所打的炮眼是一些圆柱形的孔洞,所装炸药也是细长圆柱形的,这在爆破工艺上称为柱状装药

长条装药可以看作是若干个小的集中药包。最接近眼口的几段,抵抗线短,具有加强抛掷的作用;接近眼底的几段,由于抵抗线大,可能只具有松动作用,炮眼最底部的药包甚至不能形成爆破漏斗。总的漏斗坑形状,就是这些漏斗的外部轮廓线,大致呈喇叭形,眼底破坏极少,形成炮窝子

二、柱状装药的爆破特点

水炮泥

通常把实际爆落深度与炮眼深度之比叫做炮眼利用率η)。将实际装药的总长度与炮眼深度之比叫做装药系数,用百分比表示。

炮眼不装药部分必须进行良好的填塞。炮眼封泥必须使用水炮泥,水炮泥外剩余的炮眼部分应当用黏土炮泥或者用不燃性、可塑性松散材料制成的炮泥封实。

炮眼填塞有以下作用:

  • 保证炸药完全爆炸,消除二次反应,减少有毒气体的产生;
  • 保证岩体在未被崩落之前,炮眼内维持着高应力;
  • 阻挡爆炸气体向外喷射,使瓦斯与煤尘的爆炸危险大大降低。

第五节 破岩原理与爆破技术

三、瓦斯矿井的安全爆破

爆破可能引起瓦斯或煤尘爆炸。炸药爆炸可能引爆瓦斯、煤尘的因素有:

  1. 空气冲击波:掘进工作面20m范围内不得有阻塞断面1/3以上的物体,以免造成冲击波的反射;不能使用秒延期雷管,以防先爆炮眼对瓦斯预热。
  2. 炽热的固体微粒:煤矿炸药要求爆轰必须稳定可靠;炸药中不能含铝、镁等金属粉以免发生增温作用;不得在装药时任意加入金属丝或金属片。
  3. 爆炸生成的高温气体:炸药最好接近零氧平衡;禁止使用变质炸药和起爆能不足的雷管;炮眼必须进行良好的填塞后才准爆破。

三、瓦斯矿井的安全爆破

其他要求:

  1. 井下爆破作业,必须使用煤矿许用炸药和煤矿许用电雷管,并根据矿井瓦斯等级选用不同级别的安全炸药;
  2. 爆破前应检查工作面附近20m的瓦斯浓度,超过1%就不能装药和起爆;
  3. 一次爆破必须使用同一厂家、同一品种的煤矿许用炸药和电雷管;
  4. 使用煤矿许用毫秒延期电雷管时,最后一段的延期时间不得超过130ms;
  5. 使用煤矿许用数码电雷管时,一次起爆总时间差不得超过130ms,并应当与专用起爆器配套使用。

第五节 破岩原理与爆破技术

四、常用爆破技术

1. 微差爆破

微差爆破是利用毫秒延时雷管,在炮孔之间、排间或孔内以毫秒级的时间间隔(25~50ms),按一定顺序起爆的一种爆破方法,又称为毫秒延时爆破

微差爆破的特点是各药包的起爆时间相差微小,被爆破的岩块在移动过程中互相撞击,形成极其复杂的能量再分配。

1. 微差爆破

微差爆破的优点

  1. 增加了岩石的破碎作用,降低了单位炸药的消耗量。
  2. 能够降低爆破产生的地震效应,防止对井巷围岩或地面建筑造成破坏。
  3. 减小了抛掷作用,爆堆集中,防止崩坏支架或其他设备,有利于提高装岩效率。
  4. 在有瓦斯与煤尘工作面采用微差爆破,可实现全断面一次爆破,缩短爆破和通风时间,提高掘进速度。

四、常用爆破技术

2. 光面爆破

光面爆破是在井巷掘进设计断面的轮廓线上布置间距较小、相互平行的炮眼,控制每个炮眼的装药量,选用低密度和低爆速的炸药,采用不耦合装药同时起爆,使炸药的爆炸作用刚好产生炮眼连线上的贯穿裂缝,并沿各炮眼的连线——井巷轮廓线,将岩石崩落下来。

应用光面爆破可使掘出的巷道轮廓平整光洁,便于锚喷支护,岩帮裂隙少。稳定性高,超挖量小。所以光面爆破是一种成本低、工效高、质量好的爆破方法。

2. 光面爆破

光面爆破的质量标准

  1. 围岩面上留下均匀眼痕的周边眼个数应不少于其总数的50%,
  2. 超挖(以设计开挖轮廓线为基准,实际开挖的断面在基准线以外的部分)尺寸不得大于150mm,欠挖不得超过质量标准规定,
  3. 围岩面上不应有明显的炮震裂缝。

2. 光面爆破

光面爆破断裂面的形成

a—炮孔及装药;b—初始裂纹;c—断裂面形成

光面爆破的原理

当光爆炮眼同时起爆后,在各炮眼的眼壁上产生细微的径向裂隙,由于起爆器材的起爆时间误差,各炮眼不可能在同一时刻爆炸,先爆炮眼的径向裂隙,由于相邻后爆炮眼所起的导向作用,结果沿相邻两炮眼的连心线的那条裂隙得到优先发展,并在爆生气体的作用下扩展,形成贯穿裂缝。贯穿裂缝形成后,周围岩体内的应力因释放而下降,从而能够抑制其他方向上有裂隙发展,同时又隔断了从自由面反射的应力波向围岩传播,因而爆破形成的壁面平整。

常用光面爆破参数

四、常用爆破技术

3. 边坡预裂爆破

预裂爆破是一种控制爆破方法,用以减弱在预定方向上的爆破破坏作用。这一方法的实质是沿设计边坡线钻一排间距较小的密集炮孔,称为预裂孔,在生产炮孔即主炮孔爆破之前,预裂孔先起爆。爆破结果是在岩体中沿预裂孔连线形成一定宽度的裂隙,称为预裂缝,以此来隔离或降低主炮孔爆破产生的应力波和地震波对边坡的作用。同时,由于预裂孔孔径一般较小,不耦合装药,采用低威力炸药爆破,因而预裂孔爆破对边坡的影响程度和范围大大减小,并且可以形成较为光滑的预裂面;此外,炮孔连线上首先形成的裂隙,使炮孔的爆炸气体通过该裂隙散出,降低其对周围岩石的压力,这就使得爆生气体在其他方向上的压缩与破坏作用减弱或消除,保证边坡的坡面比较完整,达到维护边坡稳定的目的。

作 业

  1. 炸药爆炸的三要素是什么?
  2. 什么是炸药的氧平衡?井下爆破为什么要选用零氧平衡炸药?
  3. 目前常用的工业炸药有哪些?主要组成成分有哪些?有什么特点?
  4. 什么是炸药的敏感度、殉爆距离、猛度和爆力?
  5. 常用起爆器材有哪些?
  6. 煤矿一炮三检和三人连锁爆破制度分别是如何实施的?
  7. 什么是微差爆破?什么是光面爆破?

  谢谢!

返回目录
返回首页