西安科技大学

安全工程专业课程

井巷工程


金洪伟 & 双海清
西安科技大学安全科学与工程学院

返回目录⇡

如何浏览?

  1. 从浏览器地址栏打开 https://zimo.net/jhgc/
  2. 点击章节列表中的任一链接,打开相应的演示文稿;
  3. 点击链接打开演示文稿,使用空格键或方向键导航;
  4. f键进入全屏播放,再按Esc键退出全屏;
  5. Alt键同时点击鼠标左键进行局部缩放;
  6. Esco键进入幻灯片浏览视图。

请使用最新版本浏览器访问此演示文稿以获得更好体验。

第五章 岩巷施工

目 录

  1. 钻眼爆破
  2. 通风防尘与降温
  3. 装岩与运输
  4. 巷道快速施工机械化作业线
  5. 巷道掘进安全作业

现状

  • 岩巷掘进按破岩方法分为钻眼爆破法机械破岩法两种。
  • 我国煤矿岩巷掘进目前仍主要采用钻眼爆破方法,光面微差中孔深爆破技术、锚喷支护技术等成功应用,为我国岩巷爆破法安全高效掘进创造了积极的条件。但是,岩巷掘进速度长时间维持在 60~70m/月,难以适应煤矿安全生产和矿井建设速度的要求。
  • 我国掘进机的研制和应用从轻型、中型发展到重型,已经形成了 EBJ、EBZ、EBH 三大系列的部分断面掘进机,全断面岩石掘进机也在个别矿区开始试验。但是,这两类掘进机在煤矿岩巷中的推广应用还需要很长的发展过程。

第一节 钻眼爆破

第一节 钻眼爆破

钻眼爆破工作应当做到以下几点:

  1. 巷道断面形状与规格、方向与坡度均应符合设计要求和施工规范的标准,要求超挖不得大于 150mm,欠挖不得超过质量标准规定。
  2. 爆破后的岩石块度应有利于提高装岩生产率,岩堆形状有利于组织装运与钻眼的平行作业,巷道底板平整有利于各种设施和人员行走。
  3. 对围岩的震动和破环要小,减小支护难度,并有利于巷道长期稳定。
  4. 爆破单位体积岩石所需要炸药和雷管消耗量低, 炮眼利用率(一次爆破循环后,工作面推进的距离和炮眼深度的比值)要达到 80% 以上。
  5. 不破坏已完成工程,且有利于后续作业的安全和机械化施工。

第一节 钻眼爆破

一、炮眼布置

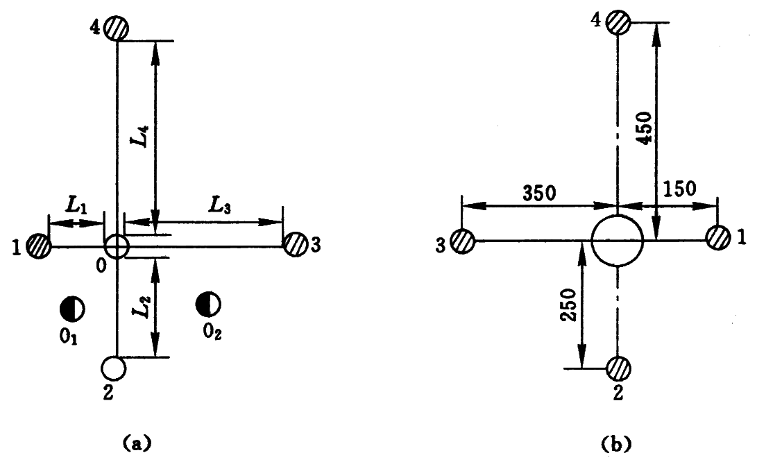
工作面炮眼布置

1—中空掏槽眼;2~5—装药掏槽眼;6~12—第一圈辅助眼;13~20—第二圈辅助眼;
21~33—第三圈辅助眼;34~37,55~59—帮眼;38~54—采拱眼;60~67—底眼;68—水沟眼

一、炮眼布置

1. 掏槽眼

掏槽眼首先起爆,为其他炮眼的爆破创造附加自由面,因此掏槽效果的好坏对循环进尺起着决定性作用。

  • 掘进工作面中如果存在显著易爆的软弱岩层,应将掏槽眼布置在这些软弱岩层中。
  • 因为掏槽眼爆破时自由面小、炮眼利用率较低,为保证辅助眼和周边眼有较高的炮眼利用率,掏槽眼通常比其他炮眼加深200~300mm,并增大装药量。
  • 掏槽眼一般布置在巷道断面中央偏下位置,距底板1.2m左右,便于钻眼时掌握方向,并有利于其他多数炮眼能借助于岩石的自重崩落。

掏槽方式按掏槽眼的方向可分为3大类,即斜眼掏槽直眼掏槽混合式掏槽

斜眼掏槽是巷道掘进中常用的掏槽方法,适用于各种岩石。斜眼掏槽主要包括单向掏槽楔形掏槽锥形掏槽 3 种,其中以楔形掏槽应用最为广泛。斜眼掏槽时,掏槽眼的装药长度系数一般要达到 0.6 以上。

斜眼掏槽的优点

  • 装药在槽腔内较为集中,能获得较好的掏槽效果;
  • 适用于各类岩层,可充分利用自由面,逐步扩大爆破范围;
  • 所需的掏槽眼数目较少,掏槽面积较大,单位耗药量小于直眼掏槽;
  • 槽眼位置和倾角的精度对掏槽效果的影响较小。

斜眼掏槽的缺点

  • 因炮眼倾斜,炮眼方向难以掌握,掏槽眼深度也受到巷道宽度的限制;
  • 爆破后碎石抛掷距离较大,岩堆分散,且易损坏设备和支护。
单向掏槽
扇形掏槽
楔形掏槽

(a) 垂直楔形;(b) 水平楔形;(c) 双楔形(复式)

锥形掏槽

(a) 三角锥形;(b) 四角锥形;(c) 圆锥形

直眼掏槽可分为缝隙掏槽(又称龟裂法)、角柱式掏槽螺旋掏槽 3 种。

直眼掏槽的优点:所有掏槽眼都垂直于工作面,各炮眼之间保持平行;炮眼深度不受断面限制,利于采用中、深孔爆破,便于采用高效凿岩机和凿岩台车钻眼;岩石的抛掷距离较近,爆堆集中,不易崩坏设备和支架。

缺点:需要较多的炮眼数目和较大的装药量。

直线掏槽
三角柱掏槽
菱形掏槽
五星掏槽
螺旋掏槽

(a) 小直径中心空眼螺旋掏槽;(b) 大直径中心空眼螺旋掏槽

双螺旋掏槽

为了加强直眼掏槽的抛碴力和提高炮眼利用率,形成了以直眼掏槽为主并吸取斜眼掏槽优点的混合式掏槽。斜眼布置成垂直楔形,与工作面的夹角为:75°~85°,装药系数不要太大,以 0.4~0.5 为宜,在所有垂直槽眼起爆之后起爆,以发挥抛碴扩槽作用。

混合掏槽

一、炮眼布置

2. 辅助眼

辅助眼又称崩落眼,是大量崩落岩石和继续扩大掏槽的炮眼。

辅助眼成圈且均匀布置在掏槽眼与周边眼之间,眼距500~700mm,炮眼垂直于工作面,装药系数(装药长度与炮眼长度之比)0.4~0.6。

若采用光面爆破,则紧邻周边眼的辅助眼要为周边眼创造一个理想的光面层,即光面层厚度要比较均匀,且大于周边眼的最小抵抗线。

一、炮眼布置

3. 周边眼

周边眼包括拱部眼顶眼)、帮眼底眼,是爆落巷道周边岩石,形成设计断面轮廓的炮眼。周边眼布置合理与否,直接影响巷道成形是否规整,一般按光面爆破要求布置周边眼。其眼口应布置在巷道设计掘进断面的轮廓线上,炮眼稍向轮廓线外偏斜,眼底偏斜量每米深度的炮眼不超过 50mm。炮眼深度应控制其眼底落在一个平面上。

周边眼的间距与其最小抵抗线存在着一定的比例关系,即:

K = E/W

式中,K 为炮眼密集系数,一般为 0.8~1.0,岩石坚硬时取大值,较软时取小值;E 为周边眼间距,一般取 0.4~0.6m;W 为最小抵抗线,即最外一圈辅助眼与周边眼的距离,m。

光面爆破的周边眼爆破参数表

一、炮眼布置

炮眼的布置方法和原则

  • 工作面上各类炮眼布置是“抓两头,带中间”。即是先选择掏槽方式和掏槽眼位置,其次是布置好周边眼,最后根据断面大小布置崩落眼。
  • 掏槽眼通常布置在断面的中央偏下,并考虑使崩落眼的布置较为均匀和减少崩坏支护及其它设施的可能。
  • 周边眼一般布置在巷道断面轮廓线上,顶眼和帮眼按光面爆破的要求,各炮眼相互平行,眼底落在同一平面上。
  • 崩落眼均匀地布置在掏槽眼和周边眼之间,以掏槽眼形成的槽腔为自由面层层布置。

第一节 钻眼爆破

二、钻眼爆破器材

1. 钻眼机具

在煤矿岩巷中,一般采用以压风作动力的各种凿岩设备和设施,包括凿岩机、钎头、钎杆和钻架等。

煤巷中,多采用煤电钻、麻花钎杆和两翼(或三翼)旋转式钻头。

二、钻眼爆破器材

2. 爆破器材

矿用炸药:一般按岩层性质、瓦斯情况及含水性等因素来选取炸药。在瓦斯矿井中必须使用煤矿许用炸药,岩石坚硬时选取高威力炸药,岩石含水性强时选取抗水炸药。近年来,安全性高、更环保、性能优的水胶炸药和乳化炸药发展很快,特别是煤矿许用乳化炸药,已成为应用最多、最有前景的煤矿许用炸药品种。为保证爆破安全,高瓦斯矿井、低瓦斯矿井的高瓦斯区域,必须使用安全等级不低于三级的煤矿许用炸药。有煤(岩)与瓦斯(二氧化碳)突出危险的工作面,必须使用安全等级不低于三级的煤矿许用含水炸药。

二、钻眼爆破器材

2. 爆破器材

起爆器材:煤矿井下均采用电力起爆法,是通过电雷管、导线和起爆电源(专用起爆器)三部分组成的起爆网络来实现的。电雷管一般采用 8 号工业电雷管,其中秒延期雷管、半秒延期雷管以及毫秒延期雷管都能满足巷道爆破的起爆要求,但是在穿过含有瓦斯的地层或离瓦斯地层不远的工作面时只能选用瞬发电雷管或总延期时间在 130ms 内的毫秒延期电雷管。煤矿许用延期电雷管不准跳段使用,相邻两段的间隔时间 ≤50ms。不同厂家生产的或不同品种的电雷管,不得掺混使用。起爆电源主要采用防爆型电容式起爆器,其电流不大,一般只用于起爆串联网络的电雷管。

第一节 钻眼爆破

三、爆破参数

1. 炮眼直径

炮眼直径过小,钻眼速度加快,但不利于装填药卷;炮眼直径过大,可减少炮眼数目、炸药能量相对集中,有利于提高爆破效率,但是钻速下降,同时影响光面爆破效果,降低围岩的稳定性。采用气腿式凿岩机的情况下,多根据药卷直径确定炮眼直径。目前岩巷掘进均采用直径为 32mm 或 35mm 的两种药卷,以炮眼直径比药卷直径大 6~8mm 为宜。目前岩巷掘进的炮眼直径多采用 40~42mm,而立井井筒由于采用机械化的伞钻钻眼,炮眼直径达 45~50mm。

三、爆破参数

2. 炮眼深度

采用气腿式凿岩机时,炮眼深度以 1.6~2.2m 为宜,眼深超过 2.5m 后,钻眼速度明显降低。采用凿岩台车时,应向深眼发展,一般在 2.5m 以上。

现阶段,炮眼深度以 1.8~2.0m 的爆破技术成为主流,单循环进尺在 1.5~1.8m,炮眼利用率平均只有 83% 左右。炮眼深度 2.2~2.5m 及以上的爆破技术推广进展缓慢。

三、爆破参数

3. 炮眼数目

合理的炮眼数目一般是先以岩层性质和巷道断面大小进行初步估算,然后在设计掘进断面图上作炮眼布置图,得出炮眼总数,并通过实践进行调整与优化。

炮眼数目可以根据单位炸药消耗量定额,按下式估算后,再按上述经验方法确定炮眼数目。

\[N=\frac{qSm\eta }{aP}\]

式中,N 为炮眼数目;q 为单位炸药消耗量,kg/m3S 为巷道掘进断面积,m2m 为每个药卷长度,m;a 为装药系数,即装药长度与炮眼长度之比,一般为 0.5 左右;P 为每个药卷的质量,kg。

三、爆破参数

4. 单位炸药消耗量

单位炸药消耗量 q 是爆破 1m3 实体岩石所需要的炸药量,也就是工作面一次爆破所需的总炸药量 Q 和工作面一次爆下的实体岩石总体积 V 之比,即

\[q=\frac{Q}{V}=\frac{Q}{Sl\eta }\]

炸药消耗量是一个重要参数,它直接影响到岩石块度、钻眼和装岩的工作量、炮眼利用率、巷道轮廓、围岩稳定性以及爆破成本等。目前还没有精确计算炸药消耗量的方法,计算数一般仅作为参考,所以多按定额选用,见下页表。

平硐、平巷炸药和雷管消耗定额

三、爆破参数

4. 单位炸药消耗量

上表中的数据在岩巷是按 2 号岩石硝铵炸药、毫秒延期雷管指定的。若采用其他炸药时,则需根据炸药爆力大小,按下式修正:

式中,320mL 为 2 号岩石硝铵炸药的爆力;q 为 2 号岩石硝铵炸药的定额消耗量,kg/m3

确定单位炸药消耗量后,根据巷道断面和炮眼深度可计算出每循环所用的炸药消耗总量 Q。然后按炮眼数目、各炮眼所起的作用和所分担的爆破岩体加以分配,最后确定出掏槽眼、辅助眼和周边眼的各眼装药量。

第一节 钻眼爆破

四、装药结构与起爆方法

装药结构是指炸药药卷在炮眼内的装填情况,有连续装药间隔装药耦合装药不耦合装药正向起爆装药反向起爆装药之区别,是影响爆破效果的重要因素。

1. 装药结构

根据起爆药卷所在位置不同,有正向装药和反向装药两种方式。

装药结构

(a) 正向装药;(b) 反向装药

1—雷管脚线;2—黏土炮泥;3—水泡泥;4—雷管;5—炸药卷;6—药卷聚能穴;7—雷管聚能穴

1. 装药结构

  • 除了无瓦斯或煤尘爆炸危险的爆破工作面外,其余井下爆破的所有炮眼都必须采用正向装药,不准反向装药。即要求雷管和炸药的聚能穴方向一致,都朝向眼底,因为正向起爆的起爆药包位于柱状装药的外端,靠近炮眼口,雷管底部朝向炮眼底,所以分散的炸药颗粒和爆轰波是朝向炮眼内部的,不易引爆瓦斯。若反向装药,容易引爆瓦斯。
  • 在岩石巷道掘进中,掏槽眼和辅助眼主要采用连续、耦合的反向起爆装药结构。反向装药起爆后爆轰波是由里向外传播,与破碎岩石的运动方向一致,有利于反射拉伸波破碎岩石,同时起爆药卷自由面较远,爆炸气体在时间上相对较迟的冲出炮眼,爆炸能量得到充分利用,因此能取得较好的爆破效果。

1. 装药结构

  • 在目前普遍采用 ϕ32~ϕ35mm 药卷的情况下,周边眼可采用单段空气柱式装药结构(下图(a))。
  • 为实现光面爆破,还可采用空气间隔装药结构(也称为轴向不耦合装药,下图(b)),这时两药包的间隔不能大于该种炸药在炮眼内的殉爆距离。
  • 当眼深超过 2.0m 后,应采用小直径药卷(ϕ23mm~ϕ25mm)实现不耦合装药结构(径向不耦合装药,下图(c)),这时不耦合系数可达 1.5 以上,可显著提高光面爆破效果。
周边眼反向装药结构

(a) 单段空气柱耦合装药;(b) 空气柱间隔装药;(c) 小直径药卷不耦合间隔装药

四、装药结构与起爆方法

2. 炮眼的填塞

作用:炮眼的填塞能保证炸药充分反应,使之放出最大热量和减少有毒气体生成量,降低爆炸气体逸出自由面的温度和压力,使炮眼内保持较高的爆轰压力和较长的作业时间。特别是在有瓦斯和煤尘爆炸危险的工作面,炮眼填塞可以阻止灼热的固体颗粒从炮眼中飞出。

2. 炮眼的填塞

  • 炮眼封泥应采用水炮泥,水炮泥外剩余的炮眼部分应采用黏土炮泥或不燃性的、可塑性松散材料制成的炮泥封实。
  • 根据炮眼深度不同,炮眼的封泥长度应符合要求:炮眼深度小于 0.6m 时,不应装药、爆破;炮眼深度为 0.6~1.0m 时,封泥长度不应小于炮眼长度的 1/2;炮眼深度超过 1.0m 时,封泥长度不应小于 0.5m;炮眼深度超过 2.5m 时,封泥长度不应小于 1.0m。光面爆破时,周边眼封泥长度不得小于 0.3m。
  • 无炮泥、封泥不足或不实的炮眼严禁爆破,不允许只装水炮泥而不装黏土炮泥。
  • 严禁使用煤粉、块状材料或其他可燃性材料作为炮眼封泥。

四、装药结构与起爆方法

3. 起爆

巷道掘进采用起爆器起爆,使用多段毫秒延期电雷管,雷管采用串联方式,按照爆破图表规定的起爆顺序全断面一次起爆。炮眼应按掏槽眼、辅助眼、帮眼、顶眼、底眼的顺序先后起爆,以使先爆炮眼所形成的槽腔作为后爆炮眼的自由面。在有瓦斯的工作面起爆时,电雷管的总延期时间不得超过 130ms。

3. 起爆

  • 井下爆破工作必须有专职爆破工担任。
  • 在煤与瓦斯(二氧化碳)突出煤层中,专职爆破工的工作必须固定在一个工作面,并配备便携式瓦斯报警仪或报警矿灯。
  • 爆破作业必须执行“一炮三检”:装药前、爆破前、爆破后要认真检查爆破地点附近的瓦斯,瓦斯超过1%,不准爆破。
  • 爆破作业必须执行“三人连锁放炮制”:爆破前,放炮员将警戒牌交给班组长,由班组长派人警戒,并检查顶板与支架情况,将自己携带的放炮命令牌交给瓦斯检查员,瓦斯检查员经检查瓦斯煤尘合格后,将自己携带的放炮牌交给放炮员,放炮员发出爆破口哨进行爆破,爆破后三牌各归原主。

3. 起爆

装药前和爆破前有下列情况之一的,严禁装药、爆破:

  1. 掘进工作面的控顶距离不符合作业规程的规定,或者支架有损坏;
  2. 爆破地点附近 20m 以内风流中瓦斯浓度超过 1.0%;
  3. 在爆破地点 20m 以内,矿车或未清除的煤、矸或其他物体堵塞巷道断面 1/3 以上;
  4. 掘进工作面风量不足。

第一节 钻眼爆破

五、爆破说明书及爆破图表

爆破说明书是井巷施工组织设计中的一个重要组成部分,是指导、检查和总结爆破工作的技术文件。爆破说明书的主要内容包括:

  1. 爆破工程的原始资料
  2. 选用的钻眼爆破器材
  3. 爆破参数的设计与计算
  4. 爆破网路的设计与计算
  5. 爆破作业安全措施

爆破图表是在爆破说明书的基础上编制,内容包括炮眼布置图、爆破原始条件、炮眼布置参数、装药参数表、预期爆破效果和经济指标等。内容见以下图表。

装药量及起爆顺序
预期爆破效果
工作面炮眼布置图

第一节 钻眼爆破

六、巷道施工测量

巷道施工测量的任务是按照矿井设计的规定和要求,在现场实地标定掘进巷道的几何要素(位置、方向和坡度等),并在巷道掘进过程中及时进行检查和校正,通常将这项工作称为给向

掘进巷道时,为了在工作面上正确布置炮眼位置和掌握巷道掘进的方向和坡度,常采用中线指示巷道的掘进方向,用腰线控制巷道的坡度。

六、巷道施工测量

中线和腰线的标定

  • 腰线通常布设在巷道无水沟侧的墙上,且对于一个矿井,腰线距底板或轨面的高度应为定值(常为 1.0m)。
  • 新开口的巷道中腰线,可根据现场实际情况,用经纬仪、罗盘仪、激光指向仪等标定,每掘进 4~8m 后,应检查或重新标定中腰线。
  • 主要巷道中线应用经纬仪标定,主要运输巷道腰线应用水准仪、经纬仪或连通管水准器标定。
  • 次要巷道的腰线可用悬挂倾斜仪来延长(见下页图)。
  • 急倾斜巷道的腰线应尽量用经纬仪来标定,短距离时,也可用悬挂半圆仪等来标定。
巷道腰线的测定

第二节 通风防尘与降温

在巷道掘进中,为了供给足够的新鲜空气,稀释和排出各种有害气体和粉尘,调节气候条件,创造一个良好的工作环境,保护工人健康,保证生产安全,都必须进行机械式通风

第二节 通风防尘与降温

掘进工作面的风量应符合下列规定

  1. 爆破后 15min 内能把工作面的炮烟排出;
  2. 按掘进工作面同时工作的最多人数计算,每人每分钟的新鲜空气量不小于 4m3
  3. 按井下同时放炮使用的最大炸药量计算,每千克一级煤矿许用炸药供给新鲜风量不得小于 25m3/min,每千克二、三级煤矿许用炸药供给新鲜风量不得小于 10m3/min。

第二节 通风防尘与降温

一、掘进通风方式

压入式通风

1—局部通风机;2—柔性风筒

1. 压入式通风

优点:可采用胶质或塑料等柔性风筒;有效射程大,冲淡和排出炮烟的作用比较强;工作面回风不通过风机,在有瓦斯涌出的工作面采用这种通风方式比较安全;工作面回风沿井巷流出,沿途能一并把粉尘等有害气体带走。

缺点:长距离巷道掘进排出炮烟需要的风量大,所排出的炮烟在井巷中随风流而扩散,蔓延范围大,时间长,工人进入工作面往往要穿过这些蔓延的污浊气流。

一、掘进通风方式

抽出式通风

1—局部通风机;2—刚性风筒

2. 抽出式通风

优点:在有效吸程内排尘的效果好,排出炮烟所需的风量较小,回风流不污染井巷。

缺点:只能使用刚性风筒或有刚性骨架的柔性风筒;有效吸程短,冲淡和排出工作面炮烟的作用弱、速度慢,只有当风筒口离工作面很近时才能获得满意效果,而这一点对于钻爆法工作面很难做到,故在巷道掘进中很少采用

一、掘进通风方式

混合式通风示意图

1—压入式局部通风机;2—风筒;3,4—抽出式局部通风机

3. 混合式通风

特点:压入式和抽出式的联合运用,通风能力强,可达到快速通风的目的。

在有瓦斯涌出或突出煤层巷道中不得采用混合式通风。

第二节 通风防尘与降温

二、掘进通风设施

1. 局部通风机

局部通风机是掘进通风的主要设备,有轴流式和离心式 2 种,常用轴流式。常用的普通轴流式通风机是 BKJ 系列,如下页表中的 BKJ66-11型。

对旋式通风机在构造上属于轴流式,采用双级双电机驱动结构,两机叶轮相对并反向旋转,相当于两台同型号轴流风机对接在一起串联工作。常用 FBD 系列。

BKJ(KJ)66-77型矿井局部轴流通风机性能参数表
FBD系列煤矿用局部通风机技术性能参数及外形尺寸
局部轴流式通风机
局部轴流式通风机

二、掘进通风设施

2. 风筒

二、掘进通风设施

2. 风筒

应根据通风量与通风距离来选择局部通风机和风筒直径。根据现场经验,通风距离在 200m 以内可选用直径为 400mm 的风筒,通风距离为 200~600m 可选用直径为 500mm 的风筒,通风距离在 500~1000m 可选用直径为 600~800mm 的风筒,通风距离在 1000m 以上可选用直径为 800~1000m 的风筒。

风筒规格表
刚性风筒
胶布柔性风筒
可伸缩柔性风筒

第二节 通风防尘与降温

三、综合防尘技术

近年平均每年新发职业病约 3 万例。尘肺病是我国最常见的职业病,约占职业病人总数的 90%。煤炭开采和洗选业占 1/3 以上。岩石掘进是煤矿粉尘危害最严重的活动。

掘进井巷时,必须采取湿式钻眼、冲洗井壁巷帮、水泡泥、爆破喷雾、装岩(煤)洒水和净化风流等综合防尘措施。

井下作业场所空气中粉尘浓度标准

第二节 通风防尘与降温

四、矿井热害防治

高温高湿环境是导致工伤事故的重要诱因之一。

《煤矿安全规程》规定:生产矿井采掘工作面空气温度不得超过 26℃,机电设备硐室不得超过 30℃;当空气温度超过时,必须缩短超温地点工作人员的工作时间,并给予高温保健待遇。采掘工作面超过 30℃、机电设备硐室超过 34℃时,必须停止作业。

矿井热害防治措施很多,当前高温矿井采取的治理措施主要有非人工制冷降温(包括通风降温、个体防护或其他措施)和人工制冷降温(在井下或地面设置制冷机组)两大类,一般进行综合治理。

郭屯煤矿井下德国造
WAT制冷机组
矿井降温冷水机组

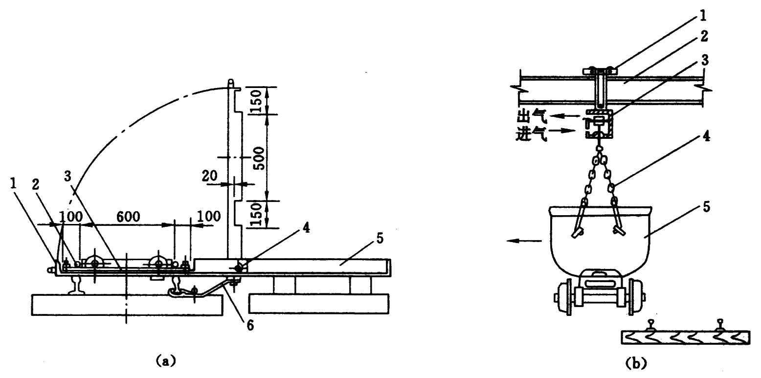
第三节 装岩与运输

在巷道施工中,岩石的装载与运输是最繁重、最费工时的工序,一般占掘进循环时间的 35%~50%。

一、装岩工作

1. 铲斗式装载机

铲斗式装载机分为后卸式侧卸式两种。后卸式铲斗装岩机适应性不强、生产能力小、机械化程度低,现只在小型煤矿使用。

后卸式铲斗装岩机
侧卸式铲斗装岩机

一、装岩工作

1. 铲斗式装载机

侧卸式铲斗装岩机:

  • 优点:铲斗斗型好、斗容大、插入力大、提升距离短,采用履带行走,机动性好,装岩宽度不受限制,可在平巷及倾角 10° 以内的斜巷使用,铲斗可兼做安装锚杆和挑顶的活动平台,可用于有瓦斯和煤尘爆炸危险的矿井。
  • 缺点:需在巷道内频繁行走,易将巷道底板碾碎,形成大量淤泥,缩短履带行走部件的寿命,降低了整机效率。
  • 一般与转载机配套使用。
ZLC-60型侧卸式装载机

1—铲斗;2—侧卸油缸;3—铲斗座;4—摇臂;5—连杆;6—举升油缸;7—导轮;8—履带架;9—支重轮;10—托轮;11—张紧装置;12—驱动轮;13—履带;14—机器机架;15—行走部电动机;16—电缆;17—泵端电动机;18—司机座;19—操纵台;20—司机棚;21—照明灯

转载机与侧卸式装载机配套示意图

1—侧卸式装载机;2—转载机;3—凿岩台车;4—矿车组;5—电机车

一、装岩工作

2. 耙斗装载机

耙斗装载机是一种结构简单的装岩设备,动力为电力,行走方式为轨轮,是目前应用最广的装载设备。

优点:结构简单、维修量小、制造容易、适应面广。

缺点:耙斗磨损较快,工作面堆矸较多,不但影响其他工序工作,且需要大量的人工清底时间。

高瓦斯、煤与瓦斯突出和有煤尘爆炸危险矿井的煤巷、半煤岩巷掘进工作面和石门揭煤工作面,严禁使用钢丝绳牵引的耙装机。

耙斗装载机总装示意图

1—连杆;2—主、副滚筒;3—卡轨器;4—操作手把;5—调整螺丝;6—耙斗;7—固定楔;8—尾轮;9—耙斗钢丝绳;10—电动机;11—减速器;12—架绳轮;13—卸料槽;14—矿车

2. 耙斗装载机

耙斗装岩机在工作前,用卡轨器 3 将台车固定在轨道上.并用固定楔 7 将尾轮 8 悬吊在工作面的适当位置。工作时,通过操纵手把 4 启动行星轮或摩擦轮传动装置,驱使主绳滚筒转动,并缠绕钢丝绳牵引耙斗 6 把矸石耙到卸料槽 13,矸石靠自重从槽口溜入矿车。然后使副绳滚筒转动,主绳滚筒从动,耙斗空载返回工作面。这样就能使耙斗往复运行进行装岩。台车需要向前移动时,用人推,或用电机车顶动均可,亦可借助两个滚轮同时缠绕拉紧钢丝绳,使机器向前移动。

耙斗装载机
耙斗装载机
耙斗装载机
拐弯巷道耙斗装载机装岩示意图

1,4—尾绳轮;2—双滑轮;3,5—耙斗;6—耙斗装载机

一、装岩工作

3. 蟹爪装载机

这种装载机前端的铲板上设有一对蟹爪,在电机或液压马达驱动下,连续交替耙取矸石,矸石经刮板输送机运到机尾的胶带输送机上,而后装入运输设备。

这类装载机装载宽度大,生产率高,机器高度低,产生粉尘少,但软岩巷道对履带行走不利,适合于硬岩巷道。

ZS-25型蟹爪式装载机

1—蟹爪装载机构;2—减速器;3—液压马达;4—机头架;5—转载输送机;
6—行走机构;7—回转台;8—升降油缸;9—耙杆;10—销轴;11—主动圆盘;
12—弧线导杆;13—固定销;14—电气装置;15—液压操纵装置

蟹爪装载机
蟹爪装载机

一、装岩工作

4. 立爪装载机和蟹爪立爪装载机

两种新型连续工作的装载机。立爪装载机由一对液压驱动的立爪耙装矸石,刮板输送机转送矸石至运输设备,工作方式更合理。主要优点是对巷道断面和矸石块度适应性强,能挖水沟和清理底板,生产效率高。缺点是爪齿容易磨损,操作较复杂,维修水平要求高。在煤矿很少使用。

蟹爪立爪装载机兼顾了蟹爪式和立爪式装载机的优点,采用蟹爪和立爪组合的耙装机构(以蟹爪为主,以立爪为辅),从而形成新颖的高效装载机。

LZ-60型立爪式装载机

1—立爪;2—耙取油缸;3—回转油缸;4—集砟油缸;5—工作大臂;6—大臂油缸;7—液控箱;8—回转机构;9—行走底盘;10—刮板输送机;11—支撑油缸;12—油泵;13—电控箱;14—集砟门

立爪装载机

一、装岩工作

5. 挖掘式装载机

挖掘式装载机简称挖装机、扒渣机。按行走方式不同分为履带式、轮式及轨轮式。

挖装机集耙矸和输送装车功能为一体,具有行走、挖掘、采集、输送、装车、清理场地六种功能,可连续性不间断装运,速度快;履带行走可全断面装岩,不留死角,不需要人工辅助清理工作面,所以能与凿岩台车配套组成高效的机械化作业线,是近年来发展最快的一种装载机。相比耙斗装载机通过绞车的两个滚筒分别牵引主绳和副绳使耙斗做往复运动实现出矸来说,安全方面有了很大提升。

履带式挖装机的结构
挖掘式装载机
挖掘式装岩机的技术特征

一、装岩工作

6. 装载机的选择

选择装载机主要应考虑巷道断面大小,装载机的适应性和可靠性,操作和维修的难易程度,装载机与其他设备的配套,以及装载机的造价和效率等因素,最后综合确定。目前使用较多的仍然是耙斗装载机,侧卸装载机次之,挖装机将会推广应用。实际可参照下页表进行选择。

装岩机的技术特征

第三节 装岩与运输

二、调车运输工作

采用固定式矿车运输矸石时,工作面一般铺设单轨,因此矿车装满后重车必须退出,调换一个空车继续装岩,这就是调车工作

采用不同的调车或转载方式,装载机的工时利用率差别很大。据统计,我国煤矿采用固定错车场时装载机工时利用率为 20%~30%,采用浮放道岔时为 30%~40%,采用转载输送机时为 60%~70%,采用梭式矿车时为 80% 以上。

二、调车运输工作

1. 固定错车场调车法

调车方式如下页图所示。在单轨巷道中,调车较为困难,一般每前进一段距离需要加宽一部分巷道,以安设错车的道岔,构成环形错车道或单向错车道。在双轨巷道中,可在巷道中轴线铺设临时单轨合股道岔。或利用临时斜交道岔调车。

固定错车场

1—装载机;2—重车;3—空车;4—重车方向;5—空车方向;6—电机车

1. 固定错车场调车法

这种调车方法简单易行,一般可用电机车调车,或附以人力。单独使用固定道岔调车法,需要增加道岔的铺设,加宽部分巷道的断面,且不能保持较短的调车距离,故调车效率不高,装载机工时利用率只有 20%~30%,可用于工程量不大、工期要求较缓的工程。

二、调车运输工作

2. 活动错车场调车法

为了缩短调车的时间,将固定道岔改为翻框式调车器浮放道岔等专用调车设备。这些设备可以紧随工作面而前移,保持较短的调车距离,装岩机的工时利用率可达 30%~40%。

浮放道岔是临时安设在原有轨道上的一组完整道岔,它结构简单,可以移动,现场可自行设计与加工。

双向菱形浮放道岔(用于双轨巷道)
单轨浮放双轨道岔(用于单轨巷道)

1—道岔;2—浮放轨道;3—支撑装置

浮放道岔
浮放道岔

2. 活动错车场调车法

翻转式调车器一般用于单轨巷道,风动调车器可用于单轨巷道或双轨巷道,两者原理相似。

翻框调车器是由金属活动盘和滑车板组成。活动盘浮放在巷道的轨面上,随时可以紧随装岩工作面向前移动。活动盘上设有可横向移动的滑车板,当空车推上滑车板后,滑车板可以横向移动离开,然后翻起活动盘,为重车提供了出车线路。待重车通过后,再放下活动盘,空车随同滑车板返回轨面,然后用人力将空车送至工作面装车。

框调车器具有结构简单、重量轻、移动方便的优点,特别是可以保证调车位置接近工作面,为独头巷道快速掘进创造了有利条件。

调车器示意图

(a) 翻框式:1—活动盘;2—轨条;3—滑车板;4—轴;5—固定板;6—定位卡

(b) 风动调车器:1—小车;2—钢梁;3—汽缸;4—悬吊链;5—矿车

二、调车运输工作

3. 利用专用转载设备

利用转载设备可大大改进装运工作,提高装载机的实际生产率,使装载运输连续作业,有效地加快装运速度。常见的转载设备有胶带转载机斗式转载车梭式矿车等。

平巷掘进中使用的胶带转载机的形式很多,但胶带输送机的框架和托辊等部分大致相同,主要区别在胶带转载机的支撑方式上,可分为悬臂式支撑式悬挂式转载机等多种。

蟹爪式装载机与悬臂式转载机配套示意图

1—蟹爪式装载机;2—悬臂式胶带转载机;3—矿车

胶带转载机工作布置示意图

1—装载机;2—悬臂式转载机;3—电动机;4—支撑式转载机;5—矿车;6—输送机电动机

支撑式胶带转载机
悬挂式胶带转载机示意图

1—装载机;2—悬挂式胶带转载机;3—悬吊链;4—行走小车;

5—单轨架空轨道;6—吊挂装置;7—卸矸溜槽

3. 利用专用转载设备

梭式矿车是一种大容积的矿车,也是一种转载设备,由在车厢底板安设运输机的槽形车厢和行走部分组成,用电机车牵引在轨道上行驶。矿料石砟从车厢的装砟端装入,刮板或链板运输机将矿料石砟转载到卸砟端;待整个梭车装满,由电机车牵引至卸砟场,然后再开通运输机将矿料石砟自动卸掉。这种矿车车厢容积较大,效率高,因往返如穿梭般频繁而得名。

梭式矿车具有容积大,装载连续,运输、转载和卸载设备合一,性能可靠等优点;既能作为运矸设备,又可作为大的储仓使用。但井下使用需要有专门的卸载点,可采取将梭车尾部抬高直接卸入矿车的方法,也可采取由梭车卸入固定地点的转载机,再由转载机装入矿车的办法。

梭式矿车

3. 利用专用转载设备

根据工作面的条件,梭车可单车使用,也能若干辆搭接组成梭式列车运行。这是可一次性将爆破方量全装完,以减少调车和出砟时间,加快掘进速度,特别适用于斜井或平硐施工。国内生产的梭车定型产品分小型、和大型,容积有4、6、8、10、12、14、16、20、25、30、45m3 共 11 种,其中小型梭车型号及技术特征见下页表。

梭式矿车搭接组成梭式列车
小型梭式矿车型号及技术特征表

第三节 装岩与运输

三、辅助运输工作

辅助运输是指煤矿生产中除煤炭运输之外的各种运输的总和,主要包括材料、设备、人员和矸石等的运输,它是整个煤矿运输系统不可或缺的重要组成部分。

我国煤矿井下推广应用的辅助运输设备有单轨吊、卡轨车、齿轨车、无轨胶轮车等高效方式,以及小绞车、无极绳绞车等分段分散的较落后的辅助运输形式。

我国研制的煤矿辅助运输设备技术性能一览表

三、辅助运输工作

1. 无轨胶轮机车

无轨胶轮机车是近年来发展较快的一种运输设备,以采油机或蓄电池为动力,不需轨道,自由行驶,具有转弯半径小、机动灵活、多功能、运量大等优点。这种车辆虽然不需专设轨道,但对巷道宽度和路面有一定要求,需要技术熟练的司机驾驶,以确保车辆安全快速地正常运行。

防爆柴油无轨胶轮车
防爆蓄电池无轨胶轮材料车
防爆蓄电池无轨胶轮人车

三、辅助运输工作

2. 卡轨机车

绳牵引卡轨车

卡轨车系统是窄轨铁路运输发展的分支,系统主要包括轨道装置、卡轨车车辆及牵引控制设备三部分组成。卡轨车的主要特点是专用轨道和特殊车轮,除装有承重行走车轮外,还增设了卡轨轮,使车辆在轨道上行驶运行中不致掉道,提高了运输的安全可靠性,特别适用于在上下坡道及弯道上运输重物和人员。

三、辅助运输工作

3. 单轨吊车

DX60防爆特殊型
蓄电池单轨吊车

单轨吊车是将材料、设备、人员等通过承载车或起吊梁悬吊在巷道顶部的单轨上,再由单轨吊车的牵引机构牵引进行运输的系统。单轨吊车的轨道是一种特殊的工字钢,悬吊在巷道支架上或砌碹梁、锚杆及预埋链上。

防爆柴油机单轨吊车运输系统示意图

1—主司机室;2,4—驱动器;3—主机;5,8—制动车;

6—12t 起吊梁;7—液压支架;9—副司机室

蓄电池单轨吊车运输系统示意图

1—轨道;2,9—司机室;3—连接拉杆;

4,8—驱动部;5—制动闸;6—电源专用吊架;7—电源箱

三、辅助运输工作

4. 齿轨机车

齿轨机车是在普通窄轨轨道的基础上,在两根钢轨中间加装一根平行的齿条作为齿轨,而在机车上,除了车轮做黏着传动牵引外,另外增加 1~2 套驱动齿轮(及制动装置),通过啮合增加牵引力和制动力的一种系统。当机车在平道上时仍用普通轨道,用黏着力告诉牵引列车,而在坡道上时可以较低的速度用齿轮加黏着力牵引,或单用齿轮系统牵引。

CK-66型齿轨卡轨机车

1—动力部;2—传动部;3—驾驶室;4—制动车;5—胶轮调整机构;6—连接器;7—拉杆

防爆柴油机齿轨车
齿轨卡轨车

三、辅助运输工作

5. 井下辅助运输系统的选择

具体选择辅助运输设备时,宜按下列要求选择:

  • 采用无轨运输系统时,应采用矿用防爆型低污染无轨胶轮车;
  • 当组成直达运输系统且倾角适宜时,可选用齿轨机车、卡轨机车、胶套轮机车;
  • 当组成直达运输系统,而上、下山倾角较大或巷道底鼓严重时,可选用单轨吊车;
  • 当不适合直达运输时,可选用绳牵引式轨道运输设备。

第四节 岩巷快速施工机械化作业线

我国岩巷的掘进速度和机械化水平明显落后,绝大多数岩巷施工仍在采用安全条件差、劳动强度大的气动凿岩机钻眼、耙斗机装岩和人力推车,岩巷月进尺平均在 65m 左右。

我国应用的岩巷机械化作业线主要有 3 种:

  • 气腿式凿岩机配耙斗装载机作业线,在我国应用最多。
  • 全液压钻车配侧卸式装载机作业线,是将来发展的方向。
  • 悬臂式掘进机配梭式矿车或带式输送机作业线,在部分煤矿试用,有望获得较快发展。

第四节 岩巷快速施工机械化作业线

一、以耙斗装载机与气腿式凿岩机为主的机械化作业线

耙斗装载机与气腿式凿岩机为主的机械化作业线

1—气腿式凿岩机;2—耙斗;3—装载机;4—转载机;5—重车;
6,10—电机车;7—混凝土喷射机;8—空车;9—调车场

多台凿岩机同时工作
多台凿岩机同时工作

一、以耙斗装载机与气腿式凿岩机为主的机械化作业线

最常用的作业线,适用面遍及全国大、中、小型煤矿。

优点:可多台钻机同时工作,使用灵活且不受断面大小影响,钻眼、装岩两大工序大部分时间都能平行作业。

缺点:钻眼机械化水平低,钻孔速度慢,人工成本高、劳动强度大、危险性高以及装岩不彻底,使得作业面环境比较差。而且这条作业线不能与全液压钻车配套,钻眼工序很难实现机械化,与锚喷机配套性也差,掘进速度提高的潜力不大。

第四节 岩巷快速施工机械化作业线

二、侧卸装载机或挖掘式装载机配全液压钻车作业线

侧卸装载机从一生产就与机械化快速施工联系在一起,履带行走机动灵活,全断面装岩不留死角,可连续向一列矿车装载。

方式1:液压钻车配侧卸式装载机机械化作业线布置图
履带式全液压钻车
侧卸式装载机

二、侧卸装载机或挖掘式装载机配全液压钻车作业线

优点

  1. 降低了钻眼工人的劳动强度,工作时可远离迎头,处于支护下作业,同时人员较少,提高了安全性。
  2. 侧卸装载机代替耙斗装载机装矸,避免因钢丝绳甩动、断绳伤人,避免钢丝绳摩擦引起火花等事故,且生产效率高。
  3. 炮眼深度、角度便于控制,有利于光面爆破,节约支护材料和出矸费用。
  4. 降低噪声、粉尘,改善了工作环境,减少了职业病的发生。
  5. 相对风动凿岩、液压凿岩机凿岩能量利用率高,动力消耗仅为风动凿岩机的1/2~1/4。

缺点

  1. 由于设备需要相互错车,不适用于较窄的断面。
  2. 设备结构较复杂,技术含量高,对维修人员要求高。
方式2:侧卸装载机与胶带转载机配套示意图

1—侧卸式装载机;2—爆破时装载机的位置;3—液压凿岩台车;4—混凝土喷射机;5—空车;6,10—电机车;7—调车场;8—开关;9—爆破时转载机的位置;11—重车;12—胶带转载机

方式3:侧卸装载机与耙斗装载机配套示意图
方式4:侧卸装载机与挖掘式装载机配套示意图

第四节 岩巷快速施工机械化作业线

三、重型悬臂式掘进机全岩巷掘进

该施工作业工艺称为综合机械化掘进法(简称综掘法)。它能准确的控制巷道的设计轮廓,减少对围岩的破坏和超挖量,所以能减少支护工作量,喷射混凝土的消耗显著少于钻爆法。另外,自动化程度高、作业人员少,掘进速度可提高 2 倍以上,从而降低巷道的施工费用。

三、重型悬臂式掘进机全岩巷掘进

我国经过50年的消化吸收和创新,悬臂式掘进机从轻型、中型发展到重型,已经形成了 EBJ、EBZ、EBH 三大系列。以全国的应用情况来看,对坚固性系数 f < 8 的岩石巷道效果较好,f > 8的硬岩效果差,且粉尘污染问题较难解决。

悬臂式掘进机与带式输送机配套
EBZ120悬臂式掘进机
EBH35悬臂式掘进机
我国半煤岩及岩巷悬臂式掘进机主要技术性能

第四节 岩巷快速施工机械化作业线

四、全断面岩巷掘进机

全断面岩巷掘进机(Tunnel Boring Machine,TBM,又译作隧道掘进机或隧道钻掘机)是当今最先进的隧道掘进设备,它集钻、掘进、支护于一体,使用电子、信息、遥测、遥控等高新技术对全部作业进行指导和监控,使掘进状态处于最佳状态,掘进速度为钻爆法的 5 倍以上。其在个别煤矿已有应用案例。

TBM 对地质条件变化的适应性较差,在复杂岩层中使用应进行充分论证,设备的成本及维修费用高,工程的初期投入较大。

全断面岩石隧道掘进机(TBM)现场组装

第四节 岩巷快速施工机械化作业线

五、全岩巷高效掘进技术发展趋势

将来岩巷掘进工艺仍以钻爆法为主,应大力发展以全液压钻车和侧卸装岩机或挖掘式装载机为主配套的机械化快速作业线,解决施工中的技术、装备及工艺问题,达到社会和经济效益最大化。在此基础上开展硬岩悬臂掘进机、TBM 等其他新机械化装备和工艺的研制工作,提高设备的稳定性及国产化率,以便推广使用。

岩巷机械化作业线

作 业

  1. 巷道掘进时对钻眼爆破工作有何要求?
  2. 单位炸药消耗量与哪些因素有关?为什么要用定额来控制装药量?
  3. 工作面的炮眼分为哪几类?在光面爆破中各起什么作用?
  4. 有哪几种掘进通风方式?压入式通风有哪些特点?
  5. 国内有哪几种岩巷装载机?
  6. 岩巷机械化作业线有哪几种典型类别?各适用何种条件?

  谢谢!

返回目录
返回首页