西安科技大学

安全工程专业课程

井巷工程


金洪伟 & 双海清
西安科技大学安全科学与工程学院

返回目录⇡

如何浏览?

  1. 从浏览器地址栏打开 https://zimo.net/jhgc/
  2. 点击章节列表中的任一链接,打开相应的演示文稿;
  3. 点击链接打开演示文稿,使用空格键或方向键导航;
  4. f键进入全屏播放,再按Esc键退出全屏;
  5. Alt键同时点击鼠标左键进行局部缩放;
  6. Esco键进入幻灯片浏览视图。

请使用最新版本浏览器访问此演示文稿以获得更好体验。

第七章 巷道支护技术

目 录

  1. 支护材料
  2. 锚杆支护
  3. 喷射混凝土支护
  4. 锚杆为主的联合支护
  5. 被动支护形式

第一节 支护材料

Image1
通用硅酸盐水泥的强度(GB 175-2009)
通用硅酸盐水泥的组分
常用水泥的选用
坍落度测定
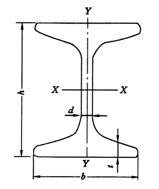
新、旧系列矿用工字钢的主要技术经济指标
矿用工字钢截面
36U型钢截面
矿用特殊型钢型号与截面参数
锚杆类型的划分
各种类型锚杆的主要优缺点
管缝式锚杆
水胀式锚杆锚固机理示意图
水力膨胀管式锚杆参数
右旋全螺纹钢锚杆
左旋无纵筋螺纹钢锚杆

(a) 实物图;(b) 示意图

1—左旋螺纹杆体;2—拱形托盘;3—调正球垫;4—减摩垫圈;5—螺母

L1—杆体长度;L2—螺纹长度;d—杆体直径

左旋无纵筋螺纹钢式树脂锚杆技术性能
树脂锚固剂主要技术特征
扭矩螺母形式

(a) 钢片填充式;(b) 树脂(尼龙)充填式;(c) 内销钉式;(d) 外销钉式

1,3—加厚螺母;2—钢片;4—树脂或尼龙;5—螺母;6—销钉;7—杆体尾部

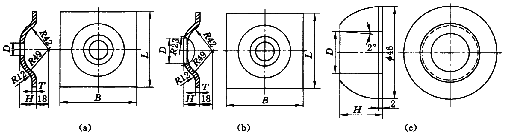
拱形托盘

D—中心孔直径;H—托盘高度;T—托盘厚度;L—托盘长度;B—托盘宽度

(a) A型托板;(b) B型调心托板;(c) 托板调心垫

全螺纹玻璃钢锚杆和普通内注式注浆锚杆结构图
内锚外注式注浆锚杆结构图
钻锚注锚杆主要技术参数
锚杆的悬吊作用

(a) 顶板有坚硬稳定岩层时锚杆的悬吊作用;(b) 围岩中有自然平衡拱时锚杆的悬吊作用

锚杆的挤压加固拱

(a) 单体锚杆对破裂岩石的控制;(b) 锚杆群的挤压加固拱

最大水平应力对巷道稳定性的影响

(a) 巷道平行于最大水平主应力;(b) 巷道与最大水平主应力呈45°角;(c) 巷道与最大水平主应力垂直

悬吊理论锚杆支护参数计算示意图

(a) 锚杆长度组成;(b) 支护参数计算图

锚杆支护组合拱力学模型
不同材质与规格锚杆的预紧力值
不同钻孔直径与锚杆直径的锚固参数
部分单体气动回转式锚杆钻机的主要技术参数1
部分单体气动回转式锚杆钻机的主要技术参数2
LDZ/100/200/300型液压锚杆拉力计

1—张拉千斤顶;2—快速插销头;3—高压胶管;

4—三通接头;5—压力表;6—注油口;7—液压缸

声控式扭力扳手
干式喷射混凝土的工艺流程图

1—石子;2—砂子;3—筛子;4—磅秤;5—搅拌机;6—水泥;7—筛子;8—运料小车;

9—料盘;10—上料机;11—喷射机;12—喷嘴;13—水箱;14—气包;15—电源

湿式喷射混凝土的工艺流程图

1—石子;2—砂子;3—筛子;4—磅秤;5—运料小车;6—水泥;7—筛子;8—搅拌机;

9—喷嘴;10—湿喷机;11—液体速凝剂;12—气包;13—电源;14—水箱

常用转子式混凝土喷射机性能参数
HPLG-5型转子式喷射机供料装置结构图

1—上料螺旋;2—速凝剂添加器;3—料仓;4—振动筛;

5—风动振动器;6—支撑架;7—轮轴;8—减速器;9—车架

拔出试验法示意图

(a) 钻孔;(b) 切槽;(c) 安装扩拔器;(d) 拉拔扩拔器

锚杆联合支护形式
矿用W形钢带结构示意图

L—钢带长度;B—钢带宽度;L0—钢带端距;L1—锚杆孔间距;

B0—钢带槽宽;d—钢带孔直径;h—钢带高度;t—钢带厚度

W形钢带技术特征
钢筋梯结构示意图

L—钢筋梯长度;B—钢筋梯宽度;L0—钢筋梯端距;L1—托架间距;L2—托架宽度

钢筋梯规格与力学参数
M形钢带
M形钢带技术特征
小孔径预应力锚索结构

1—毛刺;2—钢绞线;3—钻孔;4—围岩表面;5—大托盘(槽钢);6—小托盘;7—锁具

D—钻孔直径;L1—锚固段长度;L2—自由段长度;L3—外露长度

钢绞线的力学参数
钢索索体结构图
锚索锁具
矿用组合锚索的槽钢技术特征参数
注浆加固支护机理

1—普通锚杆;2—注浆锚杆;3—喷层与金属网组合拱(d);4—注浆扩散范围(h1);

5—锚杆作用形成的岩石拱(d);6—喷层作用形成的组合拱(h2)

锚注支护工艺
梯形金属支架
U型钢支架梁腿连接结构
U型钢支护的巷道
可缩性支架支护巷道的净宽、净高规格偏差
C100钢筋混凝土弧板支护

1—平滑可缩夹层,5块/圈,夹层规格20×230×320mm;2—袋包装充填材料(水泥、粉煤灰混合);

3—吊装孔、注浆预留孔;4—C100高强钢筋混凝土弧板,4.5块/圈,弧板规格3349.75mm×320mm×230mm,650kg/块

  谢谢!

返回目录
返回首页