西安科技大学

安全工程专业课程

井巷工程


金洪伟 & 双海清
西安科技大学安全科学与工程学院

返回目录⇡

如何浏览?

  1. 从浏览器地址栏打开 https://zimo.net/jhgc/
  2. 点击章节列表中的任一链接,打开相应的演示文稿;
  3. 点击链接打开演示文稿,使用空格键或方向键导航;
  4. f键进入全屏播放,再按Esc键退出全屏;
  5. Alt键同时点击鼠标左键进行局部缩放;
  6. Esco键进入幻灯片浏览视图。

请使用最新版本浏览器访问此演示文稿以获得更好体验。

第十章 立井井筒设计与施工

目 录

  1. 概述
  2. 井筒断面设计
  3. 立井井筒表土施工
  4. 立井井筒基岩施工
  5. 立井井筒的延深
  6. 立井井筒施工组织

第一节 概述

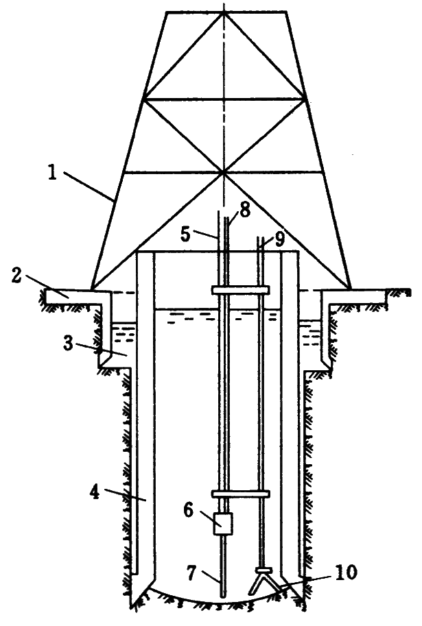
主井井筒断面图

(a) 罐道侧面布置;(b) 罐道端面布置

1—箕斗;2—罐梁;3—罐道;4—预留延深间;5—电缆架

副井井筒断面图

(a) 罐道侧面布置;(b) 罐道端面布置

1—箕斗;2—罐梁或悬臂支座;3—罐道;4—梯子间;5—管路电缆间;6—电缆架

风井井筒断面图

1—通风间;2—梯子间;3—管路间

混合井井筒断面图

1—箕斗;2—罐笼;3—钢丝绳罐道;4—防撞钢丝绳

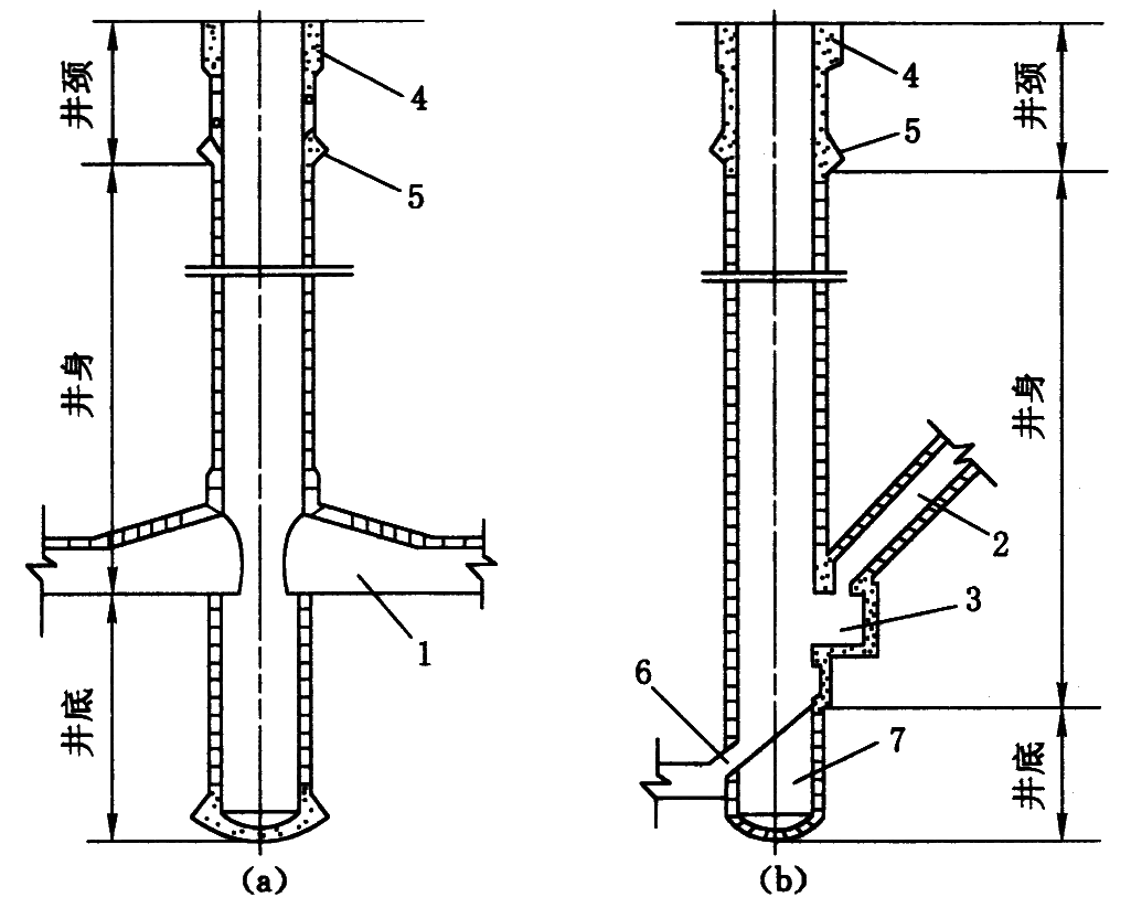
井筒纵断面图

(a) 副井;(b) 主井

1—副井马头门;2—煤仓;3—箕斗装载硐室;4—井壁;5—壁座;6—主井接受仓;7—水窝

立井井筒断面布置方式

1—箕斗;2—罐笼;3—罐梁;4—托架;5—木罐道;6—钢轨罐道;

7—矩形罐道;8—钢丝绳罐道;9—防撞刚死神;10—平衡锤;11—梯子间;12—管路电缆间

常用箕斗的规格和特征简表1
常用箕斗的规格和特征简表2
常用罐笼的规格和特征简表1
常用罐笼的规格和特征简表2
罐道截面形式

(a) 木罐道;(b) 钢轨罐道;(c) 球扁钢组合罐道;(d) 槽钢组合罐道;(e) 整体轧制罐道;(f) 复合材料罐道

组合罐道与罐梁的连接

1—矩形罐道;2—滚轮;3—罐道梁;4—滚轮罐耳底座;5—滚轮支座;6—轴承

罐梁的截面形式

(a) 工字钢罐梁;(b) 槽钢组合罐梁;(c) 整体轧制罐梁;(d) 异形截面罐梁

立井提升容器之间以及提升容器最突出部分和井壁、罐梁、井梁之间的最小间隙
井筒基岩段井壁厚度经验数据
井圈背板普通施工法

1—井壁;2—井圈背板;3—模板;4—吊盘;5—混凝土输送管;6—吊桶

吊挂井壁施工法

1—井壁;2—吊挂钢筋;3—模板;4—吊桶

地面直板桩施工法

1—外导圈;2—内导圈;3—板桩;4—打桩机;5—轨道

冻结法凿井示意图

1—冰冻沟槽;2—配液管;3—冻结管;4—供液管;5—回液管;6—冻结圈

冻结孔、水位观察孔和测温孔布置示意图
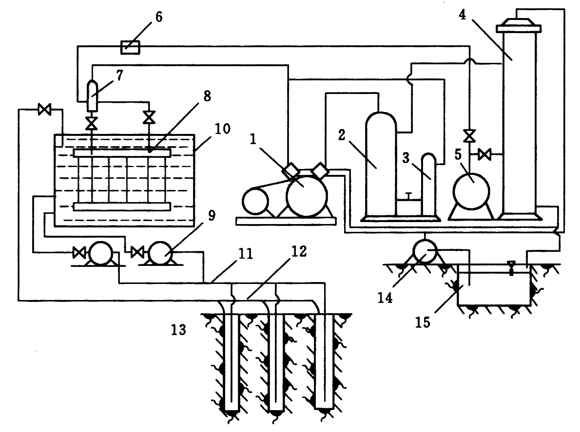
制冷系统示意图

1—氨压缩机;2—氨油分离器;3—集油器;4—冷凝器;5—储氨器;6—调节阀;7—氨液分离器;

8—蒸发器;9—盐水泵;10—盐水箱;11—配液管;12—集液管;13—冻结孔;14—冷却水泵;15—冷却水池

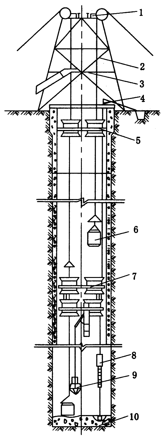
钻井工艺流程

1—钻塔;2—天车;3—游车;4—水龙头;5—六方钻杆;6—转盘;7—钻台;8—排浆管;9—排浆溜槽;

10—沉淀池;11—刀具;12—钻头;13—钻杆;14—进浆地槽;15—泥浆池;16—绞车;17—三通;18—压气管

漂浮下沉井壁示意图

1—预制井壁;2—钻台;3—配重水;4—井壁底;5—泥浆

淹水沉井法示意图

1—井架;2—套井;3—触变泥浆;4—沉井井壁;5—压风管;

6—压气混合器;7—吸泥管;8—排渣管;9—高压水管;10—水枪

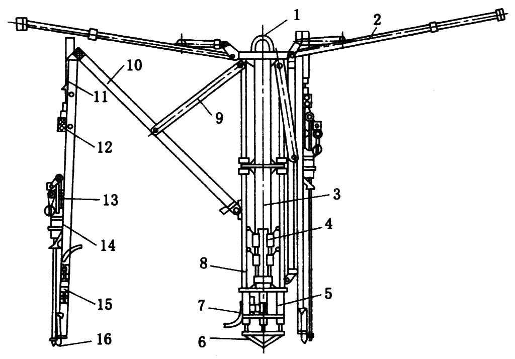
伞形钻架的技术特征
FJD系列伞形钻架的结构

1—吊环;2—支撑臂;3—中央立柱;4—液压阀;5—调高器;6—底座;

7—风马达及油箱;8—滑道;9—动臂油缸;10—动臂;11—升降油缸;

12—推进风马达;13—凿岩机;14—滑轨;15—操作阀组;16—活顶尖

立井掘进每立方米炸药和雷管消耗量定额
立井炮眼布置图
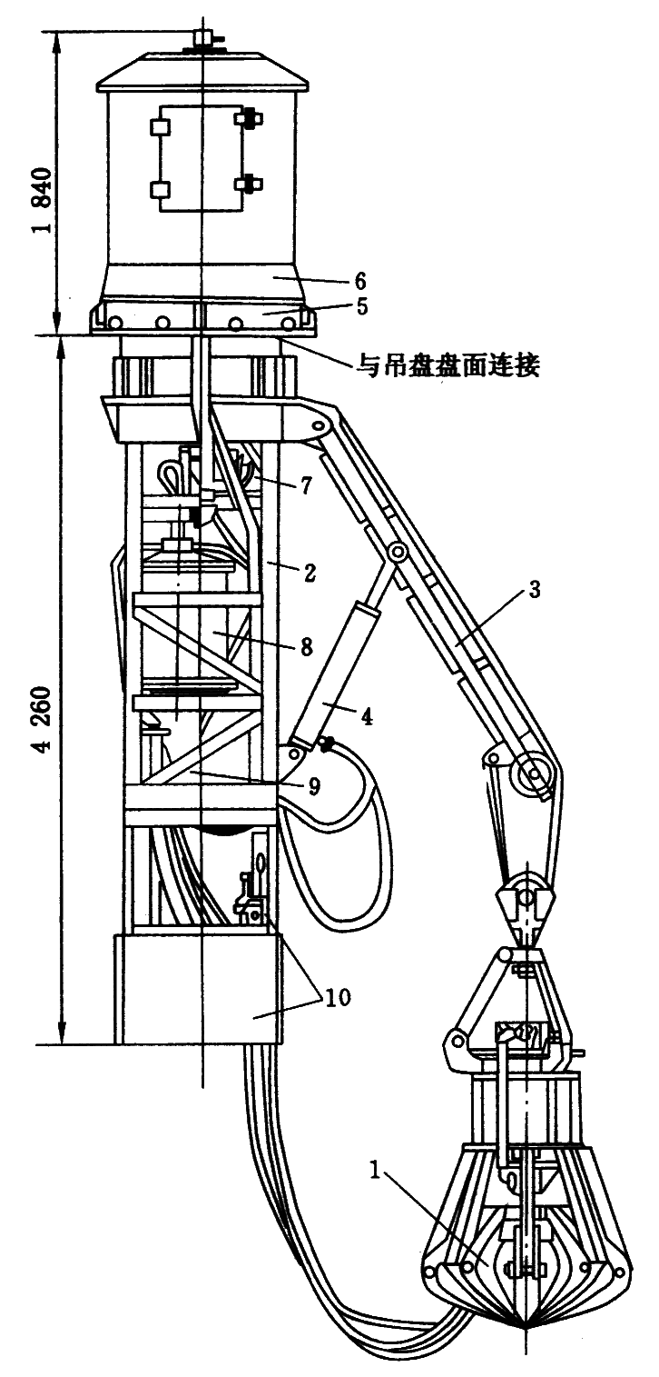
中心回转抓岩机

1—抓斗;2—机架;3—壁杆;4—变幅油缸;5—回转机构;6—提升绞车;

7—回转动力机;8—变幅气缸;9—增压油缸;10—操作阀和司机室

抓岩机的主要技术特征1
抓岩机的主要技术特征2
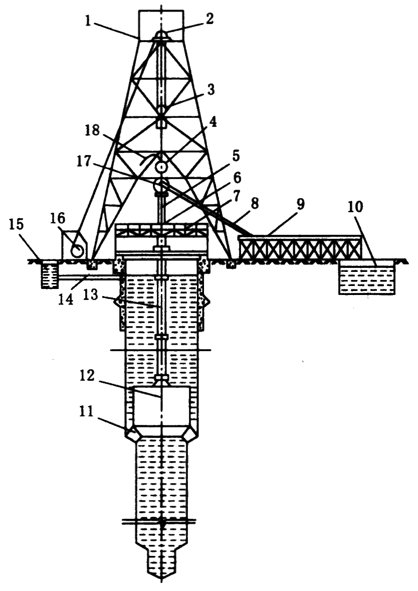
井筒提升方式示意图
吊桶的主要技术特征
凿井专用提升机技术性能表
立井提升装置的过卷高度和过放距离
座钩式自动翻矸装置

1—吊桶;2—座钩;3—托架;4—支架;5—卸矸门

金属伸缩式模板结构

1—模板主体;2—缩口模板;3—刃脚;4—液压脱模装置;

5—悬吊装置;6—浇注口;7—活动工作台

地面预注浆钻孔布置图

1—钻孔;2—含水岩层;3—隔水层;

d—井筒掘进直径;D—注浆孔布置直径

工作面预注浆示意图

1—止水垫;2—含水岩层;3—注浆钻孔

d1—掘进距离;d2—注浆孔布置直径;d3—孔底圈径;β—螺旋角(120°~180°)

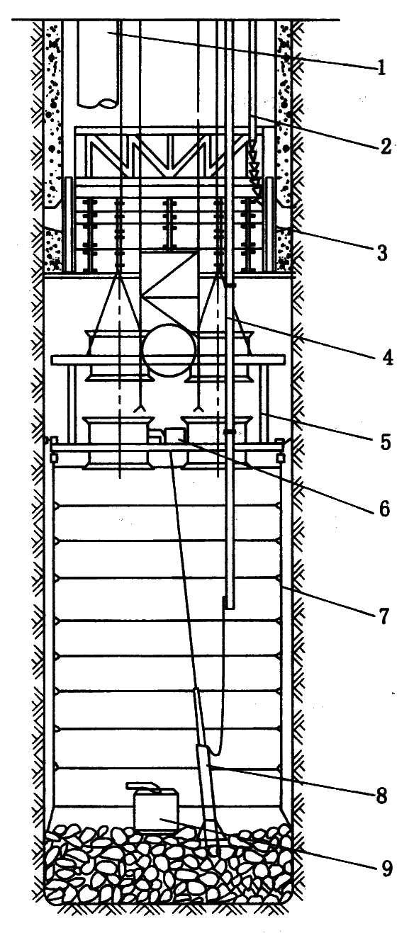
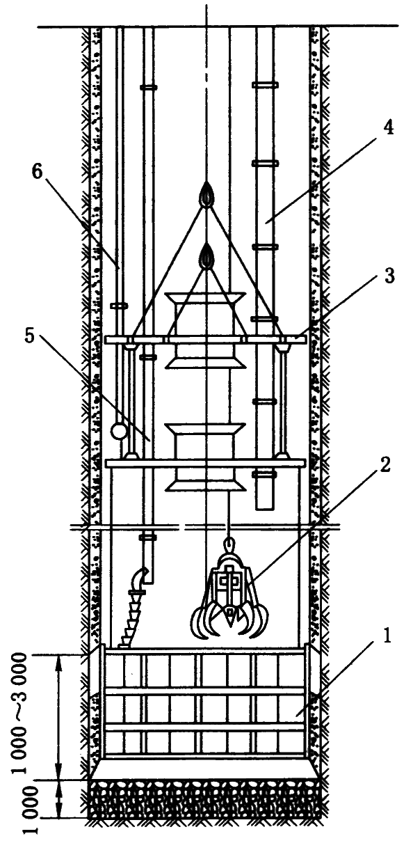
立井井筒施工示意图

1—天轮平台;2—凿井井架;3—卸矸石;4—封口盘;5—固定盘;

6—吊桶;7—双层吊盘;8—吊泵;9—抓岩机;10—掘进工作面

天轮平台的结构和布置1

1—提升天轮;2—稳绳天轮;3—吊盘天轮;4—吊泵天轮;5—压风或供水管天轮;

6—混凝土输送管天轮;7—安全梯天轮;8—风筒天轮;9—导向轮

天轮平台的结构和布置2

1—吊盘悬吊绳;2—悬吊绳双叉支绳;3—稳绳;4—稳绳双叉支绳;

5—吊桶喇叭口;6—上层盘;7—悬吊装置;8—立柱;9—折页;10—下层盘

天轮平台的结构和布置3

1—工字钢主梁;2—槽钢圈梁;3—槽钢副梁;4—工字钢副梁

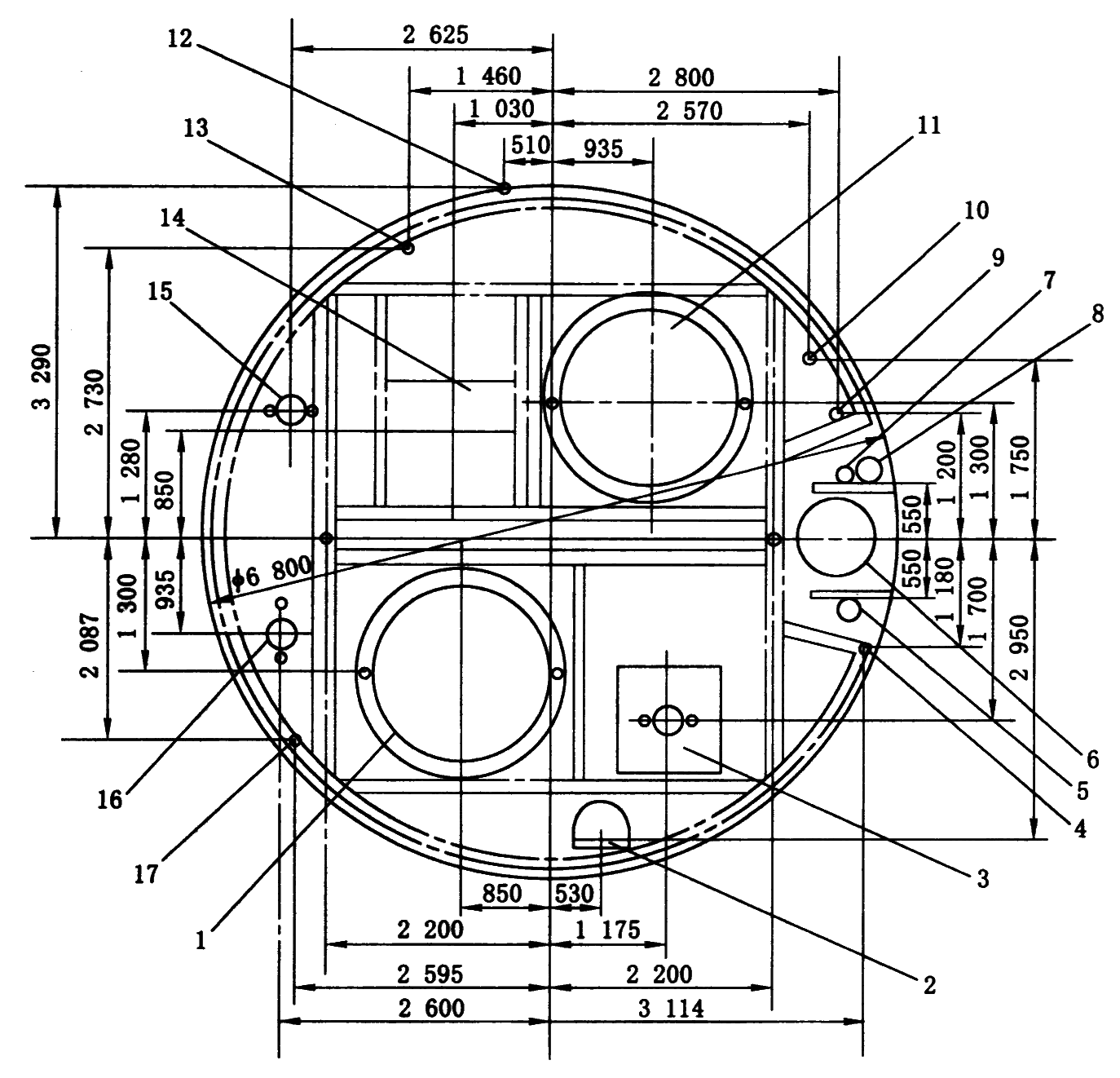
井内设备的布置示例

1—吊桶(3m³);2—安全梯;3—吊泵;4,12,17—模板悬吊绳;5—排水管;

6—风筒;7—供水管;8—压风管;9—动力电缆;10—通信电缆;11—吊桶(2m³);

13—起爆电缆;14—中心回转抓岩机;15,16—混凝土输送管

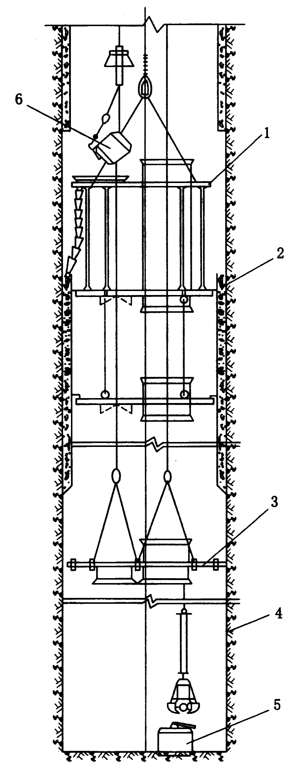
井筒分次安装示意图

(a) 安装罐梁;(b) 安装罐道

1—双层吊盘;2—罐梁;3—吊架;4—罐道

井筒一次安装示意图

1—多层吊盘;2—钻锚杆眼;3—吊笼;4—安装锚杆;

5—安装托架(罐梁);6—罐道;7—梯子

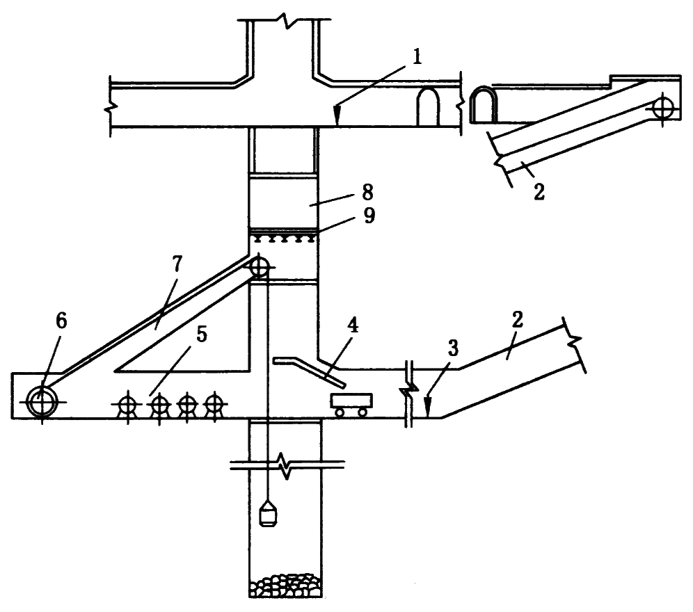
利用辅助水平延深井筒

1—生产水平;2—辅助暗斜井;3—延深辅助水平;4—卸矸台;

5—凿井绞车;6—提升机硐室;7—绳道;8—保护岩柱;9—护顶盘

利用永久井架延深(卸矸石在地面)

1—永久井架;2—延深凿井提升绞车;3—卸矸溜槽;4—矿车;

5—延深间;6—保护设施;7—吊桶;8—延深工作面

利用延深凿井井架延深(卸矸石设于井下)

1—永久井架;2—延深凿井井架;3—生产水平安全门;4—延深间;5—吊桶;

6—井下卸矸石;7—出矸绕道;8—箕斗装载硐室;9—保护设施;10—凿井绞车硐室

利用反井延深井筒示意图

1—已延深好的井筒;2—新水平的车场巷道;

3—反井;4—刷大井筒;5—通往新水平的下山巷道

吊罐反井施工示意图

(a) 反井施工准备;(b) 反井钻眼与装岩;(c) 反井爆破通风;(d) 井筒自上而下刷大

1—延深辅助水平;2—中心钻孔;3—延深水平;4—吊罐;5—提升机;

6—通风机;7—抓岩机;8—保护盖板;9—封口盘;10—固定盘;11—吊盘

短段掘砌单行作业示意图

1—模板;2—抓岩机;3—吊盘;4—风筒;5—混凝土输送管;6—压风管

长段掘砌平行作业示意图

1—砌壁吊盘;2—井壁;3—稳绳盘;4—锚喷临时支护;5—矸石吊盘;6—底卸式吊桶

短段掘砌平行作业示意图

1—风筒;2—混凝土输送管;3—模板;4—压风管;5—吊盘;

6—气动绞车;7—临时支护;8—抓岩机;9—吊桶

综合设备机械化作业线及其配套设备内容1
综合设备机械化作业线及其配套设备内容2
短段掘砌单行作业正规循环图表
打眼爆破班劳动力配备
装岩班劳动力配备
砌壁班劳动力配备
立井井筒建成后总漏水量的标准和检验方法

  谢谢!

返回目录
返回首页