西安科技大学

安全工程专业课程

井巷工程


金洪伟 & 双海清
西安科技大学安全科学与工程学院

返回目录⇡

如何浏览?

  1. 从浏览器地址栏打开 https://zimo.net/jhgc/
  2. 点击章节列表中的任一链接,打开相应的演示文稿;
  3. 点击链接打开演示文稿,使用空格键或方向键导航;
  4. f键进入全屏播放,再按Esc键退出全屏;
  5. Alt键同时点击鼠标左键进行局部缩放;
  6. Esco键进入幻灯片浏览视图。

请使用最新版本浏览器访问此演示文稿以获得更好体验。

第十一章 井底车场的结构与施工

目 录

  1. 井底车场的结构与形式
  2. 井底车场施工组织与硐室施工方法
  3. 交叉点类型与施工方法
  4. 煤仓的结构与施工方法

第一节 井底车场的结构与形式

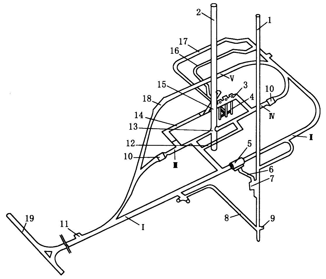
环行刀式立井井底车场立体示意图

1—主井;2—副井;3—主排水泵房硐室;4—吸水小井;5—翻笼硐室(卸载硐室、胶带机头硐室);

6—斜煤仓或立式煤仓;7—箕斗装载硐室;8—清理撤煤斜巷;9—主井井底水窝泵房;

10—防火门硐室;11—调度室;12—等候室;13—马头门硐室;14—主变电所硐室;15—管子道;

16—内水仓;17—外水仓:18—机车库及修理间;19—主要运输大巷;

I—主井重车线;II—主井空车线;III—副井重车线:IV—副井空车线;V—绕道(调车路线)

胶带输送机上仓立井井底车场立体示意图

1—主井;2—副井;3,4,5—胶带输送机巷;6—立式圆筒煤仓;7—给煤胶带输送机巷;

8—箕斗装载硐室;9,10—轨道运输大巷;11—副井重车线;12—副井空车线;

13—主井井底清理撤煤硐室;14—副井清理斜巷;15—主变电所硐室;16—主排水泵硐室;

17—内、外水仓:18—调度室;19—机车修理间;20—等候室;21—消防材料库;22—管子道

副井系统硐室

1—副井;2—主排水泵硐室;3—水仓;4—管子道;5—主变电所硐室;

6—清理水仓绞车硐室;7—配水井;8—吸水井;9—配水巷;10—水泵房通道;11—副井马头门

箕斗装载硐室主要尺寸确定图

(a) 非计量装载硐室;(b) 计量装载硐室

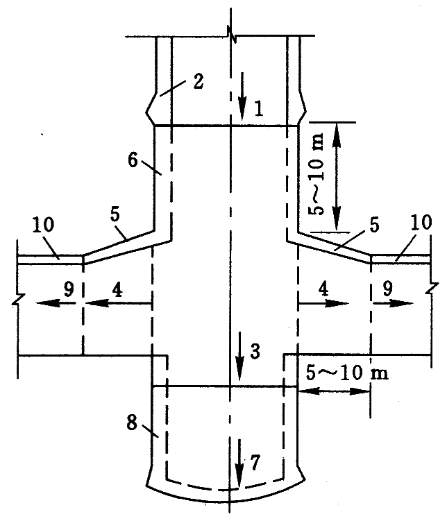
立井环形式井底车场

(a) 卧式;(b) 斜式;(c) 立式;(d) 刀式

1—主井;2—副井;3—翻车机硐室;4—运输大巷或石门;5—主井重车线;

6—主井空车线;7—副井重车线;8—副井空车线;9—绕道;10—调车线

斜井环形式车场

(a) 卧式;(b) 刀式

1—主斜井;2—副斜井

立井折返式井底车场

(a) 梭式;(b) 尽头式

1—主井;2—副井;3—翻车机硐室;4—主井重车线;5—主井空车线;6—通过线;

7—副井重车线;8—副井空车线;9—运输大巷(或石门);10—运输大巷

主井胶带、副井串车提升折返式车场

1—主井;2—副井;3—调车线;4—越行线;5—主井重车线;

6—主井空车线;7—副井重车线;8—副井空车线

尽头-环形混合式井底车场

1—主井;2—副井;3—翻车机硐室

梭式-环形混合式井底车场

1—主井;2—副井;3—卸载站;4—翻车机硐室

硐室下行分层(正台阶)施工法
硐室上行分层(倒台阶)施工法
硐室双侧导硐施工法
硐室中央下导硐施工法

(a) 先拱后墙施工法;(b) 先墙后拱施工法

某特大断面硐室导硐法施工顺序图
硐室与井筒同时施工

1—井筒;2—煤仓;3—上室;4—下式

箕斗装载硐室与井筒顺序施工

1—井口盘、井筒保护盘;2—天轮平台;3—封口盘;4—双层吊盘;5—钢丝绳导向平台;6—提升机;

7—凿井绞车;8—井盖门小绞车;9—混凝土喷射机;10—矸石吊桶;11—耙斗装载机

马头门的施工顺序
马头门与井筒同时施工下行分层施工法
柱墙式交岔点和穿尖交岔点

(a) 正向施工法;(b) 反向施工法

巷道交岔点工程量及材料消耗量计算图
交岔点最大断面TM处断面图
坚固稳定岩层中交岔点施工顺序
先掘砌柱墩再扩大断面的施工顺序

(a) 柱墙式交岔点;(b) 穿尖交岔点;(c) 断面图

交岔点导硐法施工顺序

(a) 正向施工法;(b) 反向施工法

井底煤仓形式
衮州矿区鲍店矿井底直立煤仓结构

1—主井;2—箕斗装载硐室;3—立式煤仓;4—漏斗

晋城赵庄煤矿井底倾斜煤仓结构与施工断面图
水平组合煤仓布置系统图

1—煤车卸载硐室;2—水平组合煤车;3—仓下平巷;

4—装载硐室和装载输送机平巷;5—装载设备硐室;6—主井井筒

国产反井钻机技术特征
LM-120反井钻机

1—转盘吊;2—钻机平车;3—钻杆;4—斜拉杆;5—长销轴;6—钻机架

7—推进油缸;8—上支撑;9—液压马达;10—下支撑;11—泵车;12—油箱车;

13—扩孔钻头;14—导孔钻头;15—稳定钻杆;16—钻杆;17—混凝土基础;18—卡轨器;

19—斜撑油缸;20—翻转架;21—机械手;22—动力水龙头;23—滑轨;24—接头体

反井扩孔作业示意图

1—动力车;2—钻机;3—导向孔;4—扩孔钻头;5—反井

浇灌煤仓下口锥体部分支模示意图

1—衬木;2—模板;3—撑木;4—碹骨

炮眼布置与装药

1—雷管;2—炸药;3—炮泥;4—钢弹

  谢谢!

返回目录
返回首页